EasyManua.ls Logo

Piper Lance II - Page 379

Piper Lance II
568 pages
Print Icon
To Next Page IconTo Next Page
To Next Page IconTo Next Page
To Previous Page IconTo Previous Page
To Previous Page IconTo Previous Page
Loading...
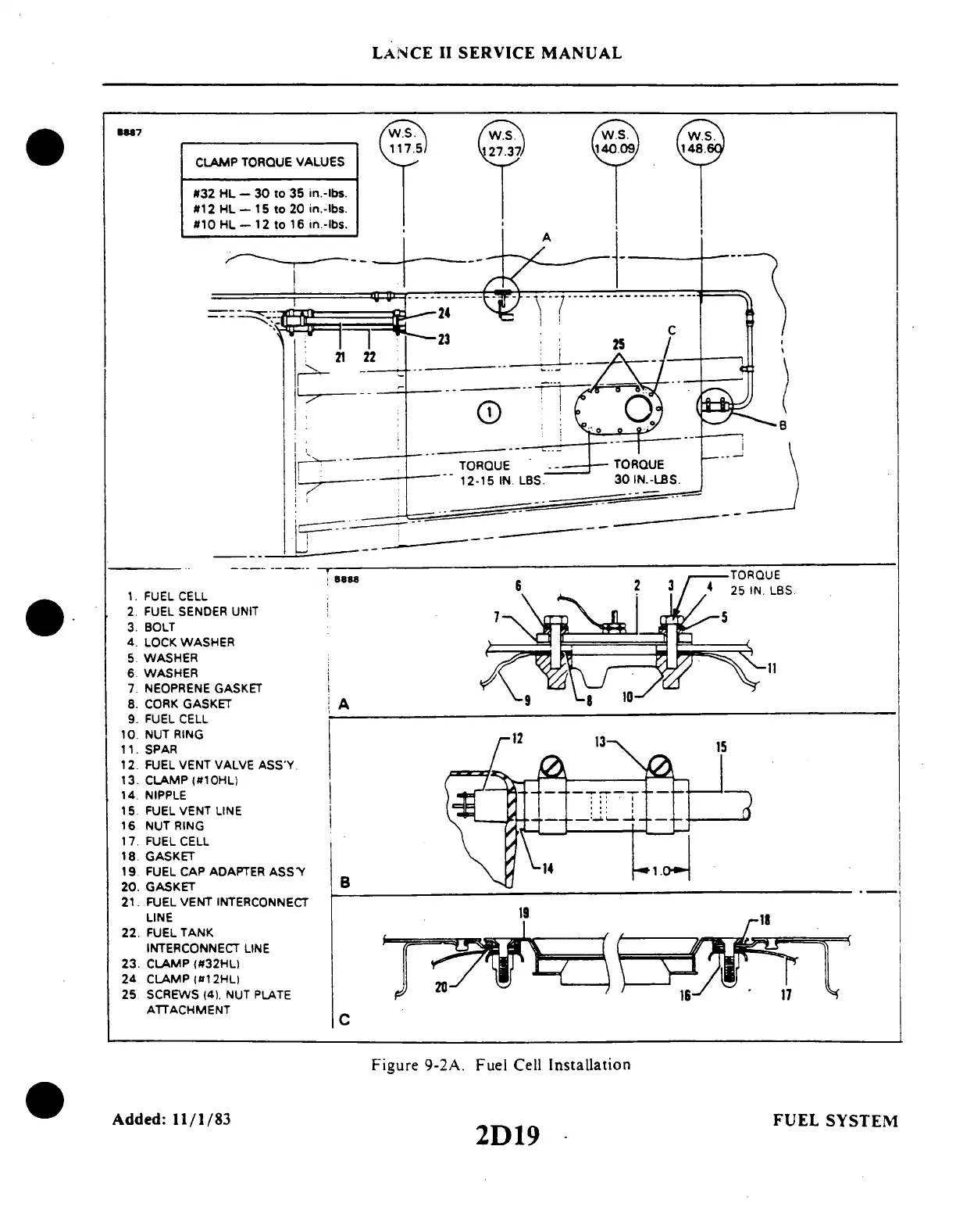
CLAMP TORQUE VALUES
#32
HL - 30
to 35 in.-lbs.
#12 HL - 15 to 20 in.-lbs.
#10 HL-
12 to 16 in.-lbs.
8888
1. FUEL CELL
2.
FUEL SENDER
UNIT
3. BOLT
4. LOCK
WASHER
5 WASHER
6 WASHER
7 NEOPRENE GASKET
8. CORK
GASKET
9. FUEL CELL
10.
NUT
RING
11. SPAR
12. FUEL VENT VALVE ASS'Y.
13. CLAMP (#10HL)
14. NIPPLE
15 FUEL VENT LINE
16
NUT
RING
17. FUEL
CELL
18. GASKET
19 FUEL CAP ADAPTER ASSY
20.
GASKET
21. FUEL VENT INTERCONNECT
LINE
22.
FUEL
TANK
INTERCONNECT LINE
23. CLAMP (#32HL)
24 CLAMP
(#12HL)
25
SCREWS (4).
NUT PLATE
ATTACHMENT
Figure 9-2A. Fuel Cell Installation
LANCE II SERVICE MANUAL
B

Table of Contents

Related product manuals