EasyManua.ls Logo

RED PRIMULA - Technical Flue Characteristics

RED PRIMULA
66 pages
Print Icon
To Next Page IconTo Next Page
To Next Page IconTo Next Page
To Previous Page IconTo Previous Page
To Previous Page IconTo Previous Page
Loading...
PELLET STOVES Chapter 2
red
INSTALLATION AND USE MANUAL
page 14
Theoretical notions for installation Technical service - Rights reserved - Reproduction prohibited
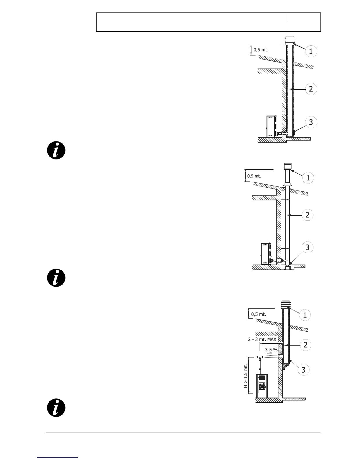
2.6. CONNECTION TO THE FLUE PIPE
The flue pipe must have internal dimensions not larger than 20 x 20
cm, or diameter 20 cm. In the event of larger dimensions, or of the
flue pipe being in poor condition (for example cracks, poor insulation,
etc.), it is advisable to fit a stainless steel pipe of suitable diameter
inside the flue pipe throughout its length, right up to the top.
Check with suitable instruments that there is a minimum draught of 10
Pa.
At the bottom of the flue pipe, provide an inspection cap to allow
periodic checking and cleaning, which must be done annually.
Make a gas-tight connection to the flue pipe, using pipes and
connectors as recommended by us.
You must ensure that a windproof cowl should be fitted which complies
with the standards in force.
This type of connection ensures the evacuation of the
fumes even in the event of a temporary power cut.
2.7. CONNECTION TO AN EXTERNAL FLUE WITH
INSULATED OR DOUBLE-WALL PIPE
The external fluepipe must have internal dimensions of minimum
10x10 cm or 10 cm diameter, and maximum 20x20 cm or 20 cm
diameter.
Check with suitable instruments that there is a minimum draught of 10 Pa.
The only type of pipe which is permissible is insulated (double-walled)
stainless steel, smooth on the inside, fixed to the wall. Flexible stainless
steel pipe must not be used. At the bottom of the flue pipe, provide an
inspection cap to allow periodic checking and cleaning, which must be
done annually. Make a gas-tight connection to the flue pipe, using
pipes and connectors as recommended by us.
You must ensure that a windproof cowl should be fitted which complies
with the standards in force.
This type of connection ensures the evacuation of the
fumes even in the event of a temporary power cut.
2.8. CONNECTION TO THE FLUE PIPE
For proper functioning, the connecting pipe between the stove and the
chimney or flue duct must have a slope of not less than 3% in the
horizontal stretches, the length of which must not exceed 2/3
metres, and the vertical distance between one tee connector and
another (change of direction) must not be less than 1.5m.
Check with suitable instruments that there is a minimum draught of 10
Pa.
At the bottom of the flue pipe, provide an inspection cap to allow
periodic checking and cleaning, which must be done annually.
Make a gas-tight connection to the flue pipe, using pipes and
connectors as recommended by us.
You must ensure that a windproof cowl should be fitted which complies
with the standards in force.
This type of connection ensures the evacuation of the
fumes even in the event of a temporary power cut.
1) Windproof cowl
2) Flue pipe
3) Inspection
1) Windproof cowl
2) Flue pipe
3) Inspection
1) Windproof cowl
2) Flue pipe
3) Inspection

Table of Contents

Other manuals for RED PRIMULA

Related product manuals