EasyManua.ls Logo

Ricoh Aficio MP 3350B - Detailed Section Descriptions

Ricoh Aficio MP 3350B
1153 pages
Print Icon
To Next Page IconTo Next Page
To Next Page IconTo Next Page
To Previous Page IconTo Previous Page
To Previous Page IconTo Previous Page
Loading...
Overview
SM 6-1 D017/D018/D019/D020
Detailed
Descriptions
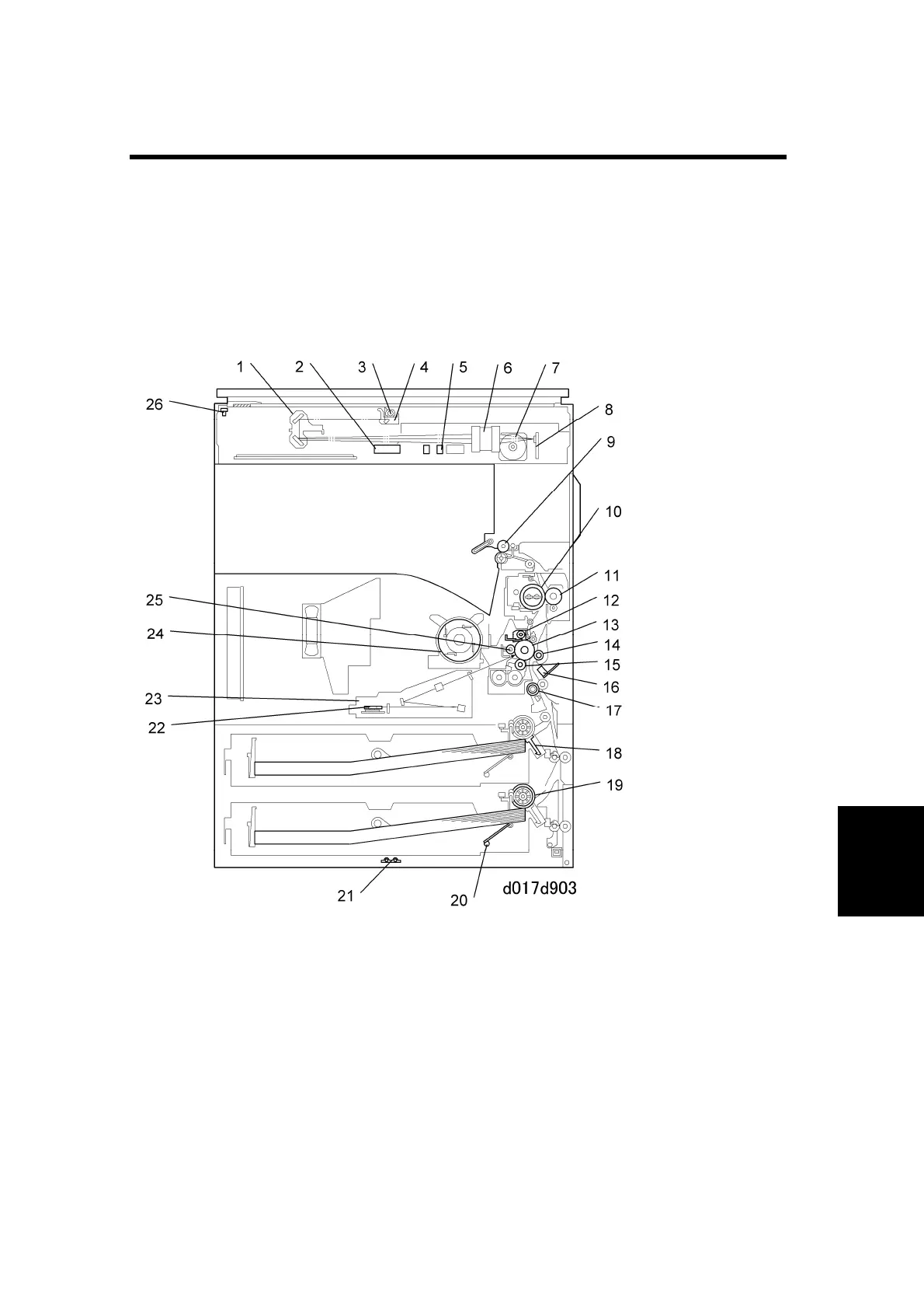
6. DETAILED SECTION DESCRIPTIONS
6.1 OVERVIEW
6.1.1 MECHANICAL COMPONENTS

Table of Contents

Related product manuals