EasyManua.ls Logo

Ricoh Aficio MP 3350B - Folder; Overview; Fold Plate

Ricoh Aficio MP 3350B
1153 pages
Print Icon
To Next Page IconTo Next Page
To Next Page IconTo Next Page
To Previous Page IconTo Previous Page
To Previous Page IconTo Previous Page
Loading...
Folder
SM 53 B793
Booklet
Finisher
B793
2.11 FOLDER
2.11.1 OVERVIEW
The fold plate pushes the stack into the nip between the fold rollers. The fold rollers feed
out the stack, then reverse to feed it back in again. Then, the fold rollers feed the stack out
of the folder, to the booklet tray.
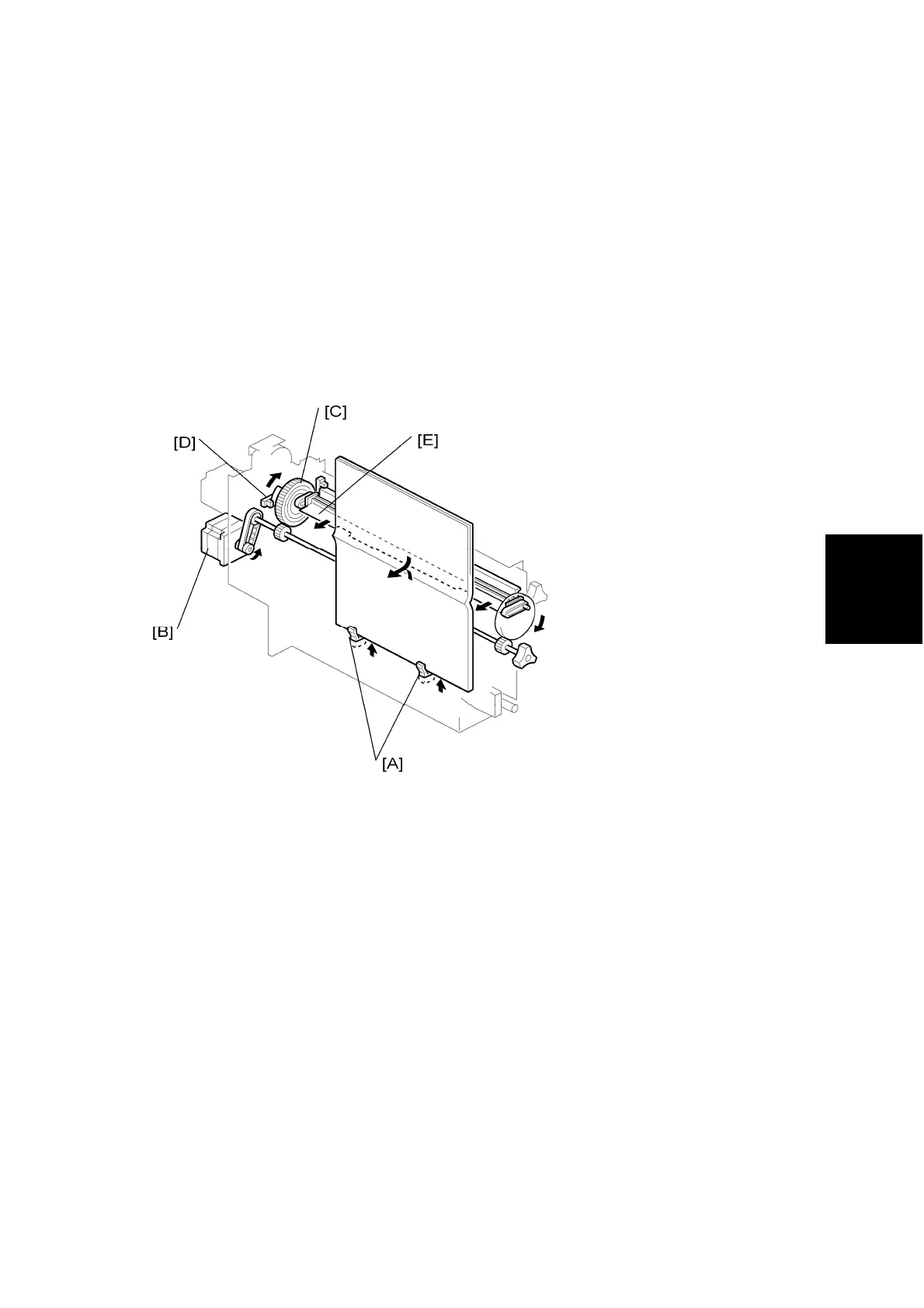
2.11.2 FOLD PLATE
[A]: Bottom Fence Stack Stoppers. Catches the stack after it is released by the clamp
rollers.
[B]: Fold Plate Motor. Drives the timing belt and gears that move the fold plate.
[C]: Fold Plate Cam. Controls the movement of the fold plate to the left (into the nip of the
fold rollers) and right (toward the fold plate home position).
[D]: Fold Plate HP Sensor. Controls operation of the fold plate motor.
[E]: Fold Plate. Moves left and pushes the stack into the nip of the fold rollers and then
moves right to retract.

Table of Contents

Related product manuals