EasyManua.ls Logo

Ricoh Aficio MP 3350B - Proof Tray

Ricoh Aficio MP 3350B
1153 pages
Print Icon
To Next Page IconTo Next Page
To Next Page IconTo Next Page
To Previous Page IconTo Previous Page
To Previous Page IconTo Previous Page
Loading...
Proof Tray
B793 40 SM
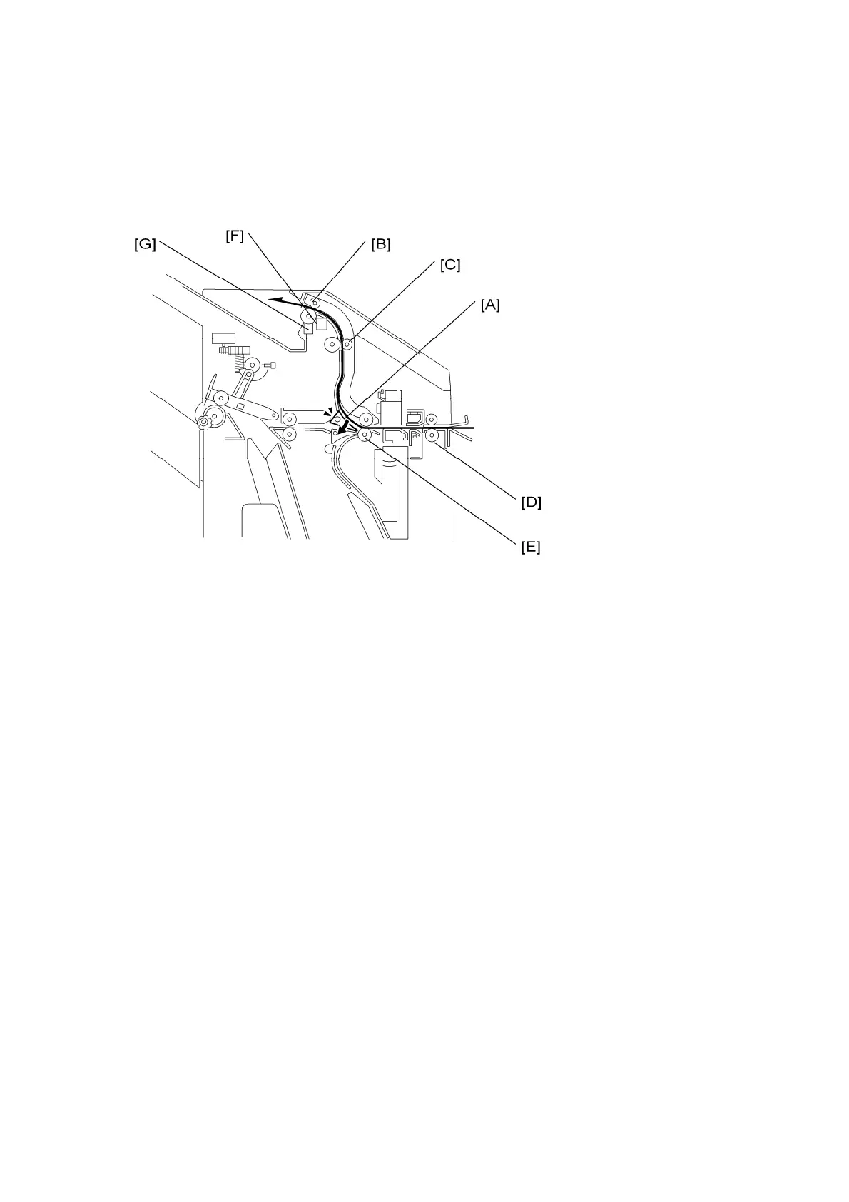
2.3 PROOF TRAY
Proof Tray Junction Gate Control [A]: Proof Tray Gate Solenoid
Roller Drive:
Proof Tray Exit Roller [B], Proof Tray Transport Roller [C]: Controlled by the Upper
Transport Motor
Entrance Roller [D], Transport Roller [E]: Controlled by the Entrance Motor
Jam Detection: Proof Tray Exit Sensor [F]
Tray Full Detection: Proof Tray Full Sensor [G]

Table of Contents

Related product manuals