EasyManua.ls Logo

Ricoh Aficio MP2550B - Paper Feed Clutches

Ricoh Aficio MP2550B
1153 pages
To Next Page IconTo Next Page
To Next Page IconTo Next Page
To Previous Page IconTo Previous Page
To Previous Page IconTo Previous Page
Loading...
Paper Feed
D017/D018/D019/D020 3-44 SM
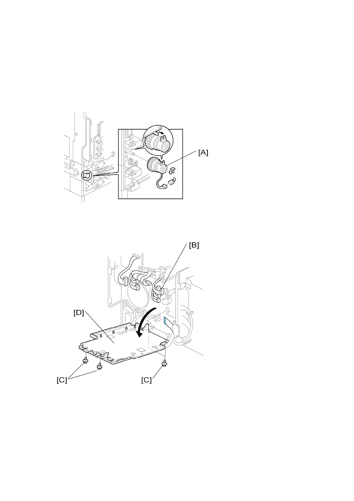
3.8.7 PAPER FEED CLUTCHES
Lower Paper Feed Clutch
1. Remove the rear cover.
2. Remove the lower rear cover.
3. Replace the lower paper feed clutch [A] ( x 1, x 1).
Upper Paper Feed Clutch
1. Disconnect the connectors [B] for the BCU board as shown ( x15).
2. Remove 4 screws [C] securing the BCU board bracket then swing down the BCU
board bracket [D].

Table of Contents

Related product manuals