EasyManua.ls Logo

Ricoh P C300W - Page 278

Ricoh P C300W
324 pages
Print Icon
To Next Page IconTo Next Page
To Next Page IconTo Next Page
To Previous Page IconTo Previous Page
To Previous Page IconTo Previous Page
Loading...
7.Detailed Descriptions
266
OPC Charge and Cleaning
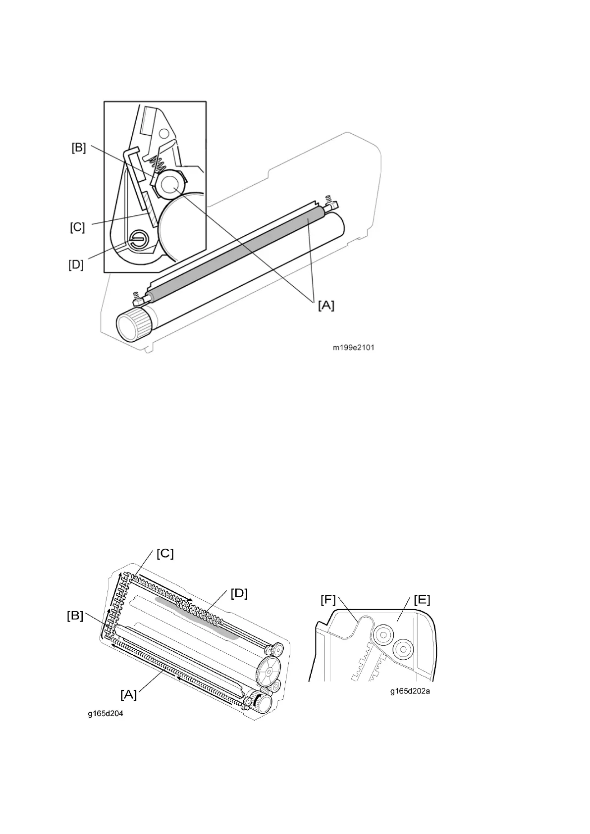
This machine uses a charge roller [A].
The charge roller gives the drum surface a negative charge. The high voltage supply board, which is at
the left side of the machine, applies a dc and ac voltage (at a constant current) to the roller. The ac
voltage helps to make sure that the charge given to the drum is as constant as possible.
The machine automatically controls the charge roller voltage when process control is done.
The charge roller cleaner [B], which always touch the charge roller, cleans the charge roller. The OPC
cleaning blade [C] removes the waste toner on the OPC. The toner collection coil [D] moves the toner to
the waste toner transport belt.
Waste Toner Collection
The waste toner collection coil [A] transports waste toner from the OPC to the right side of the AIO.
After that, the waste toner transport belt [B], which is driven by the transport belt shaft [C], lifts waste

Table of Contents

Other manuals for Ricoh P C300W

Related product manuals