EasyManua.ls Logo

Riello UPS Multi Sentry 160 MST - Sezione Contatti Ausiliari; Ingresso Bypass Separato

Riello UPS Multi Sentry 160 MST
264 pages
Go to English
Print Icon
To Next Page IconTo Next Page
To Next Page IconTo Next Page
To Previous Page IconTo Previous Page
To Previous Page IconTo Previous Page
Loading...
‐12‐
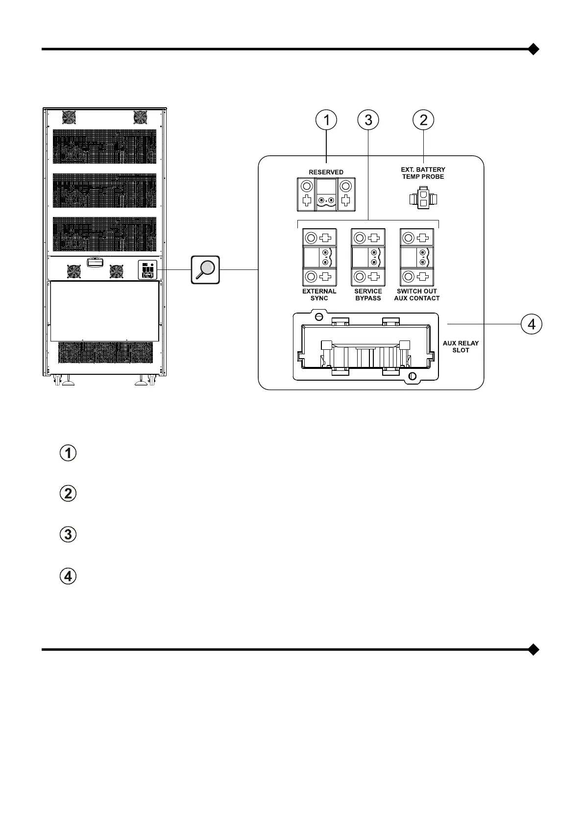
SEZIONE CONTATTI AUSILIARI
RESERVED: Segnale riservato
EXT. BATTERY TEMP PROBE: Connessione per sonda di temperatura per batterie esterne
Da sinistra a destra:
EXTERNAL SYNC: Connessione per segnale di sincronismo esterno
SERVICE BYPASS: Connessione per ausiliario bypass di manutenzione remoto
SWITCH OUT AUX CONTACT: Connessione per ausiliario sezionatore d’uscita remoto
AUX RELAY SLOT: Slot Relè
INGRESSO BYPASS SEPARATO
QUESTA SERIE DI UPS PUÒ ESSERE CONFIGURATA IN MODALITÀ “DUAL INPUT” OSSIA CON LINEA DI BYPASS
SEPARATA DA QUELLA DI INGRESSO.
In questo caso viene consentito un collegamento distinto tra la linea d’ingresso e la linea di bypass.
L’uscita dell’UPS sarà sincronizzata alla linea di bypass in modo che, in caso di intervento del bypass automatico o di chiusura
del bypass manuale (SWMB), non vi siano scorrette commutazioni tra tensioni in controfase.

Table of Contents

Related product manuals