EasyManua.ls Logo

RTS BTR-800 - Power-Up Screens

RTS BTR-800
88 pages
Print Icon
To Next Page IconTo Next Page
To Next Page IconTo Next Page
To Previous Page IconTo Previous Page
To Previous Page IconTo Previous Page
Loading...
50 System Operation BTR-800, TR-800, TR-825
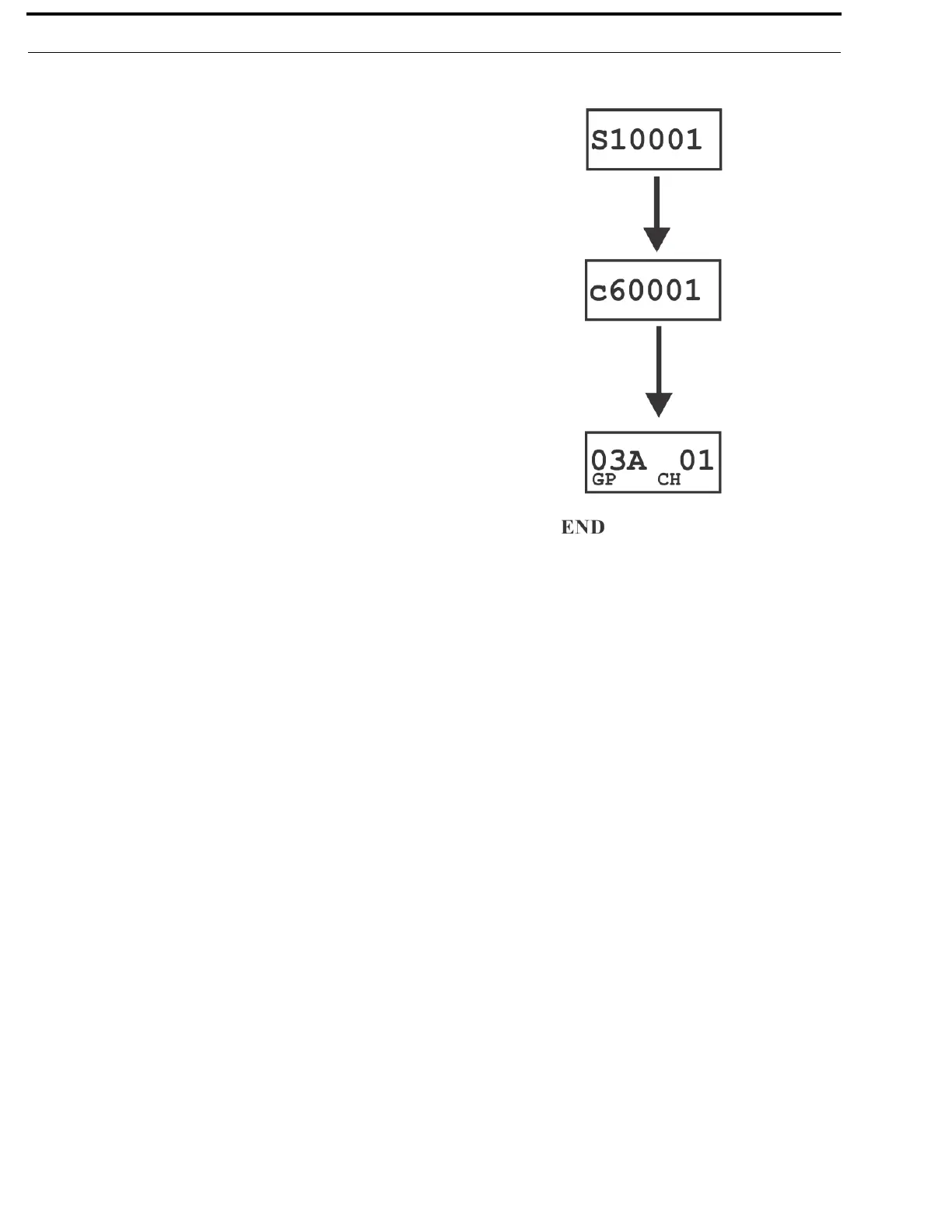
Power-Up Screens
The first screens displayed when the beltpack is powered up
are the software and channel map version screens.
The 1st screen displayed indicates the beltpack’s software
version number. It is displayed for about one second.
The 2nd screen displayed indicates the beltpack’s channel
map (frequency plan) version number. It is displayed for
about one second.
The final screen displayed is the group/channel screen.

Table of Contents

Related product manuals