EasyManua.ls Logo

RTS BTR-800 - Group;Channel Screen

RTS BTR-800
88 pages
Print Icon
To Next Page IconTo Next Page
To Next Page IconTo Next Page
To Previous Page IconTo Previous Page
To Previous Page IconTo Previous Page
Loading...
BTR-800, TR-800, TR-825 System Operation 61
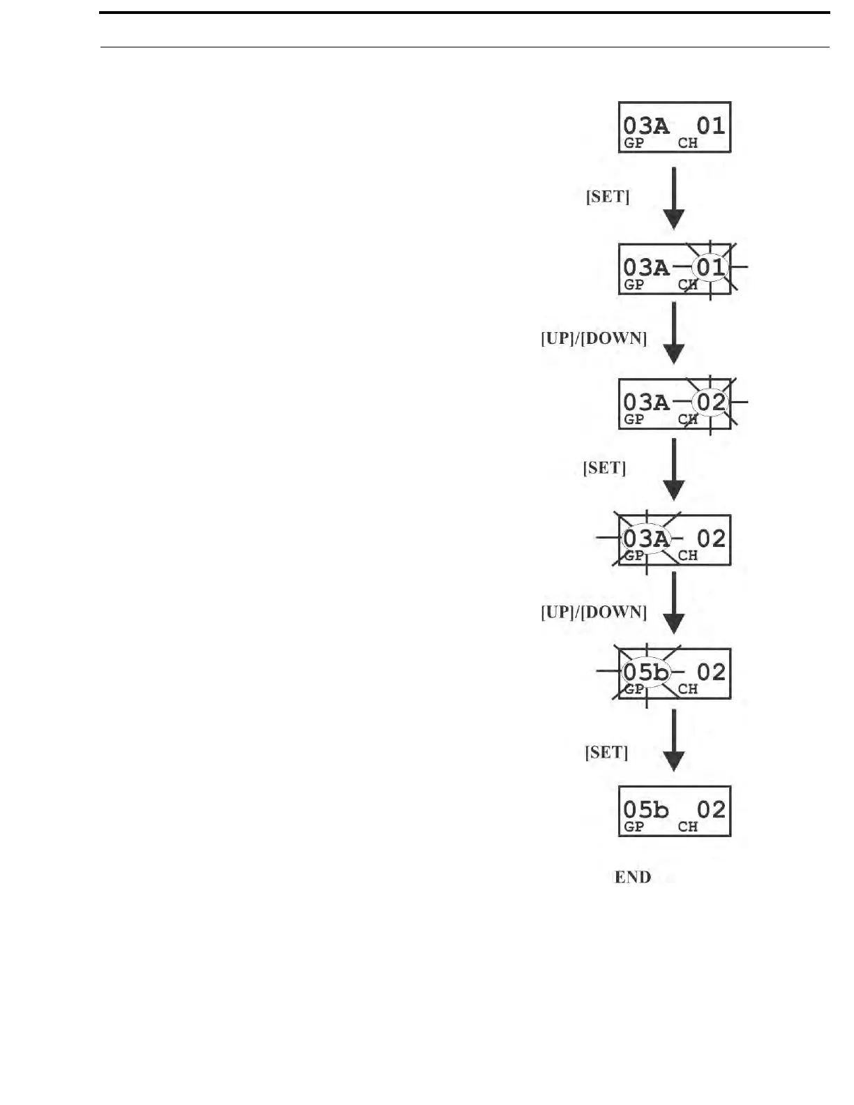
Group/Channel Screen
The Group/Channel screen allows the user to change the group
and select from a pre-determined number of transmit channels.
The screen displayed after the beltpack power-up screens.
Press [SET] to edit the channel number. The channel
number will start flashing.
Use the [UP]/[DOWN] arrow buttons to change the channel
number.
Press [SET] to place the beltpack on the channel selected.
Once set is pressed, the beltpack transmitter will move to
that frequency and nothing will be flashing. Now press
[SET] twice to enter group edit.
Use the [UP]/[DOWN] arrow buttons to change the group
number.
Press [SET] to place the beltpack on the group selected.
Once set is pressed, the unit returns to the group/channel
display with nothing flashing.
Pressing [SET] once more will start the editing sequence
over again. Pressing [MENU] during the group edit will end
editing and send the user back at the group/channel screen
without any changes. This applies to channel editing also.

Table of Contents

Related product manuals