EasyManua.ls Logo

Santerno DCREG4.150 - Dcreg Size 1 Through-Panel Assembly

Santerno DCREG4.150
200 pages
Print Icon
To Next Page IconTo Next Page
To Next Page IconTo Next Page
To Previous Page IconTo Previous Page
To Previous Page IconTo Previous Page
Loading...
15P0059B3 DCREG2
USER MANUAL DCREG4
34/200
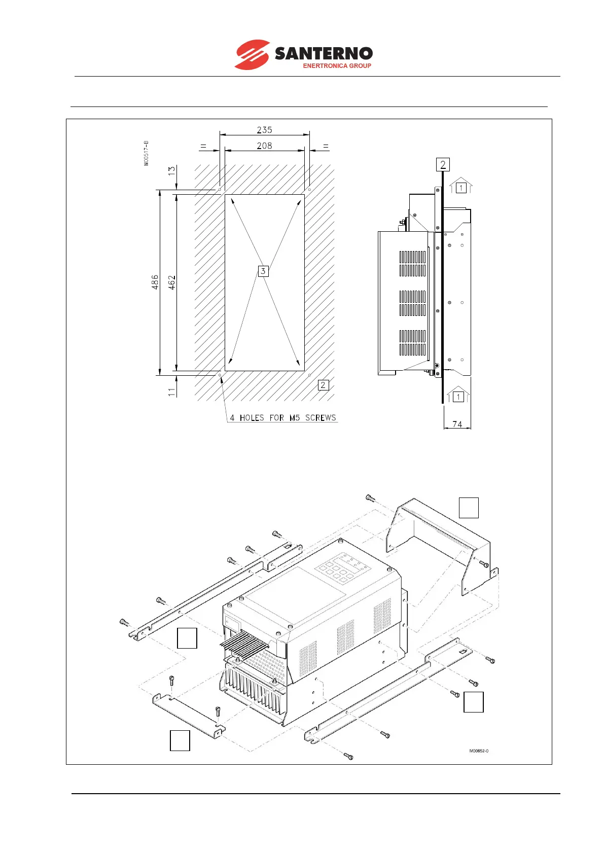
3.4 DCREG SIZE 1 THROUGH-PANEL ASSEMBLY
1 - Direction of the cooling air flow
2 - Fixing panel
3 - Slot to be made in the fixing panel
4 - Through-panel assembly kit parts
4
4
4
4

Table of Contents

Related product manuals