EasyManua.ls Logo

Sanyo PLC-XT25 - Page 48

Sanyo PLC-XT25
152 pages
Print Icon
To Next Page IconTo Next Page
To Next Page IconTo Next Page
To Previous Page IconTo Previous Page
To Previous Page IconTo Previous Page
Loading...
-48-
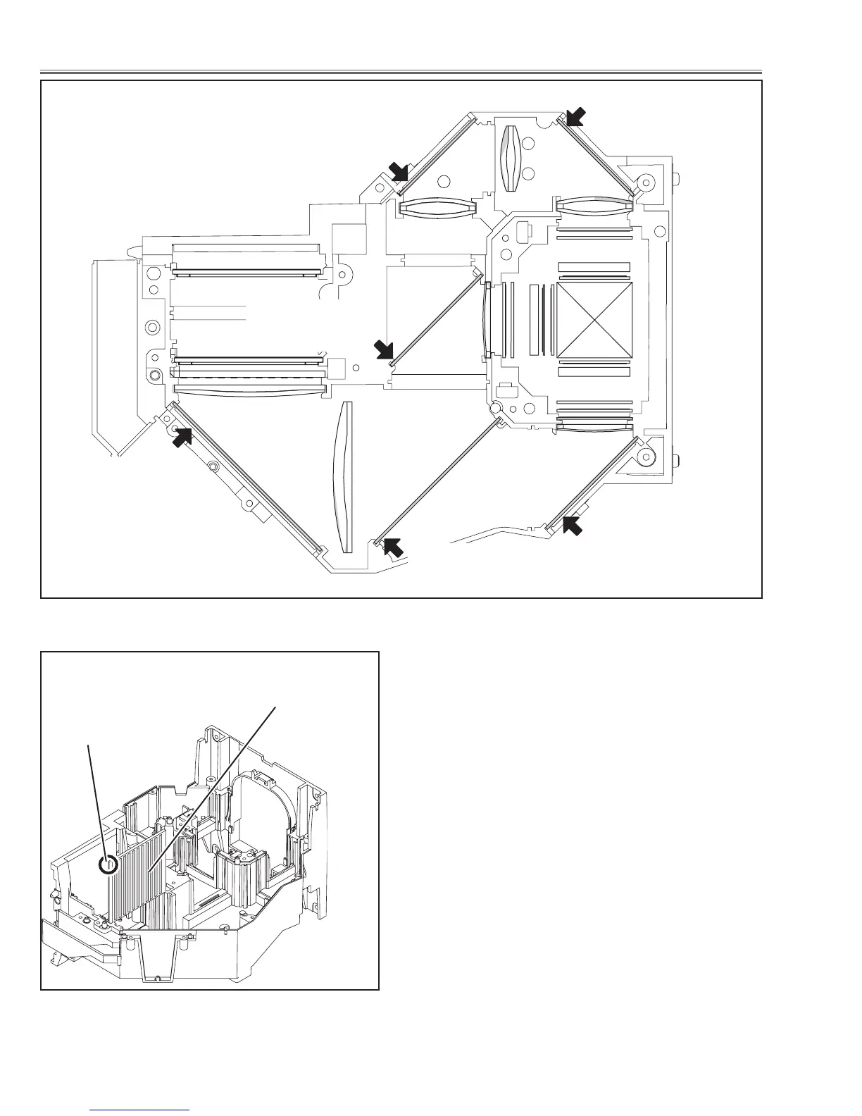
Optical Parts Disassembly
The marker comes this
surface side.
The marker comes
this surface side.
The marker comes
this surface side.
The marker comes
this surface side and
this place
The marker comes
this surface side and
this place
The marker comes
this surface side.
Film attached side
comes this side.
chamfercorner
comes this side.
PBS

Table of Contents

Other manuals for Sanyo PLC-XT25

Related product manuals