EasyManua.ls Logo

Selve commeo WS - Page 14

Selve commeo WS
Print Icon
To Next Page IconTo Next Page
To Next Page IconTo Next Page
To Previous Page IconTo Previous Page
To Previous Page IconTo Previous Page
Loading...
14
D
Automatikfunktionen/Schutzfunktionen
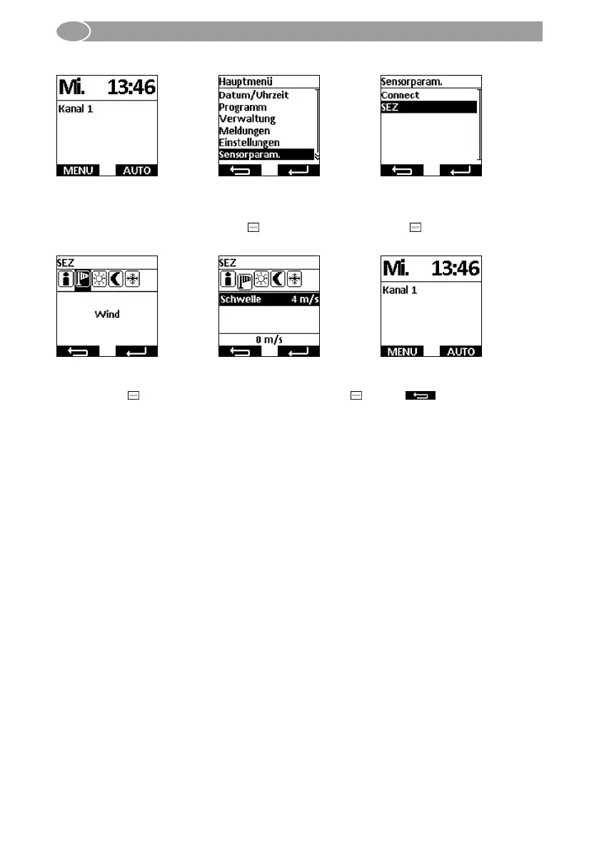
Windschwellwert: Einstellung mit dem Handsender commeo Multi Send
MENU-Taste drücken. Mit der oder  Taste den
Menüpunkt Sensorparam.
wählen und mit der STOPP-
Taste bestätigen.
Mit der oder  Taste den
entsprechenden Antrieb aus-
wählen und mit der STOPP-
Taste bestätigen.
Mit der Taste das Wind-
symbol anwählen und mit der
STOPP-Taste bestätigen.
Mit der oder  Taste den
gewünschten Wert einstellen
und mit der STOPP-Taste
bestätigen.
Zurück zum Betriebsmenü:
Dazu 3x die Display-Taste
links drücken.

Table of Contents

Related product manuals