EasyManua.ls Logo

Sharp XE-A213 - Sprachauswahl; Einstellung von Datum und Uhrzeit

Sharp XE-A213
484 pages
Print Icon
To Next Page IconTo Next Page
To Next Page IconTo Next Page
To Previous Page IconTo Previous Page
To Previous Page IconTo Previous Page
Loading...
15
Teil1
SCHNELLSTARTANLEITUNG
Teil2 Teil3
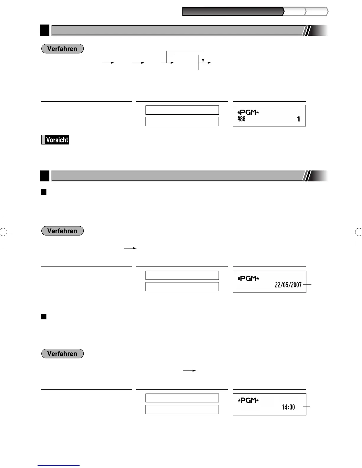
*Sprache: 0: Englisch 1: Deutsch 2: Französisch 3. Spanisch
Die Vorgabeeinstellung ist Englisch.
Wenn Sie die Sprache ändern, werden die Texte wie z.B. Bedienername (Seite 24), Logotext (Seite
25) und Funktionstext (Seite 62) auf ihre Vorgabewerte eingestellt. Daher muss die Sprachauswahl
vor der Programmierung der Bedienernamen, Logotexte und Funktionstexte erfolgen.
Einstellung des Datums
Für die Einstellung des Datums geben Sie dieses mit acht Stellen in der Reihenfolge Kalendertag/Monat/Jahr
(TT/MM/JJJJ) ein, und drücken Sie danach die
N
-Taste.
Einstellung der Uhrzeit
Die Uhrzeit wird mit bis zu vier Stellen im 24-Stunden-Format eingegeben. Wenn zum Beispiel die Uhrzeit auf
2:30 (vormittags) eingestellt werden soll, geben Sie 230 ein. Für eine Uhrzeit von 14:30 (nachmittags) ist 1430
einzugeben.
Uhrzeit
1430
0.00
1430
N
DruckBedieneranzeigeTastenbedienung
Uhrzeit (max. 4 Stellen im 24-Stunden-Format)
N
Datum
22052007
0.00
22052007
(22. Mai 2007)
N
DruckBedieneranzeigeTastenbedienung
Datum (TT/MM/JJJJ)
N
SPRACHAUSWAHL
VIELEN DANK
s
88
@
1
A
DruckBedieneranzeigeTastenbedienung
*Sprache
(0-3)
A
Zur Einstellung auf 0
s@
88
3
Sprachauswahl
4
Einstellung von Datum und Uhrzeit
A213_1 Quick Start Guide(De) 06.4.28 8:53 PM Page 15

Table of Contents

Other manuals for Sharp XE-A213

Related product manuals