EasyManua.ls Logo

Sharp XE-A213 - Weiterführende Funktionsprogrammierung; Programmierung der Maschinennummer und der Laufenden Nummer

Sharp XE-A213
484 pages
Print Icon
To Next Page IconTo Next Page
To Next Page IconTo Next Page
To Previous Page IconTo Previous Page
To Previous Page IconTo Previous Page
Loading...
64
WEITERFÜHRENDE
FUNKTIONSPROGRAMMIERUNG
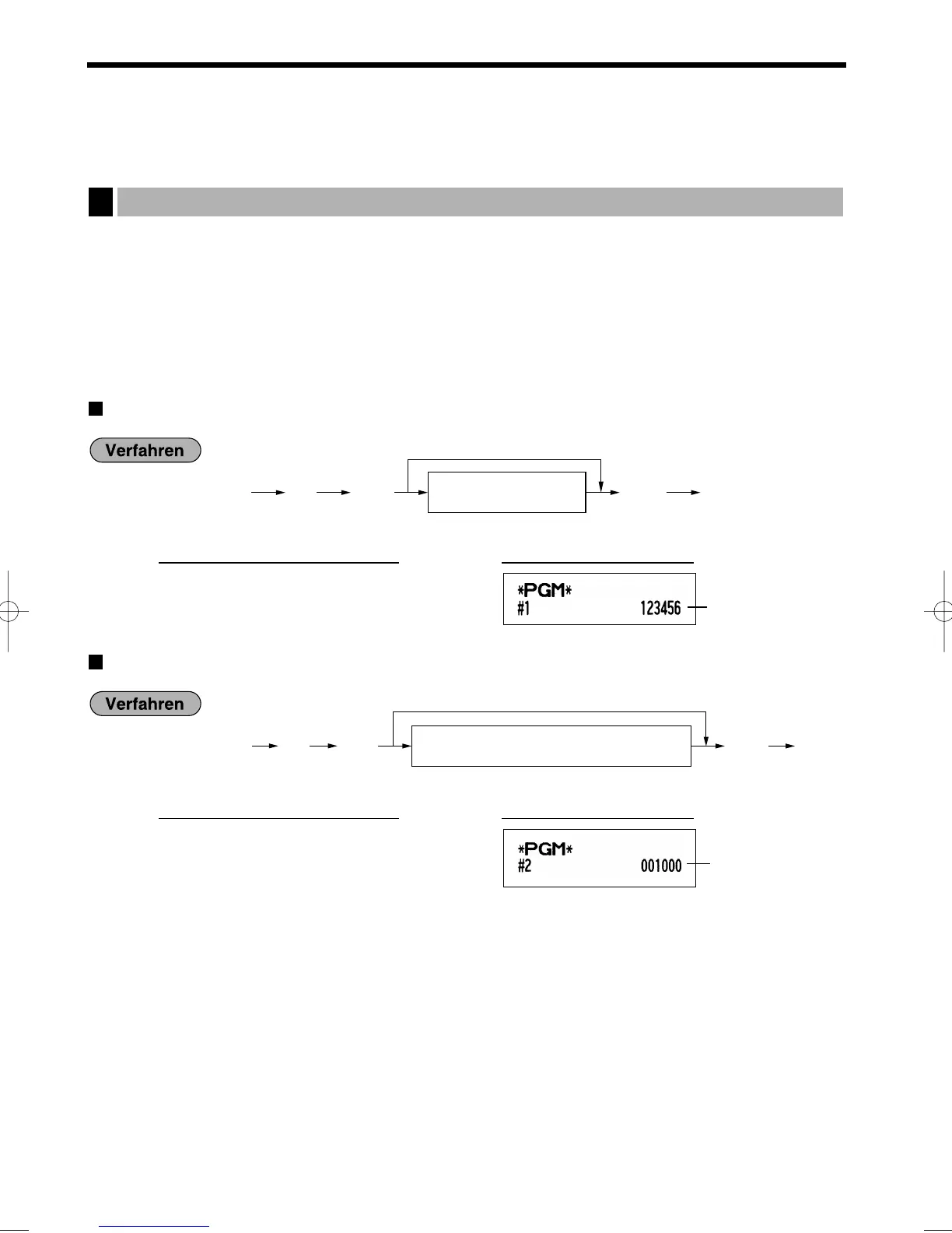
Die Maschinennummer und die laufende Nummer werden auf jedem Kassenbon oder auf dem Journalstreifen
ausgedruckt.
Falls Ihr Geschäft über zwei oder mehrerer Registrierkassen verfügt, dann sollte jeder Registrierkasse zur
Identifikation eine separate Maschinennummer zugeordnet werden. Die laufende Nummer wird jeweils um eins
erhöht, wenn ein Kassenbon ausgegeben oder auf dem Journalstreifen ausgedruckt wird. Für die
Programmierung der laufenden Nummer geben Sie eine Nummer (max. 6 Stellen) ein, die um eins niedriger als
die gewünschte Startnummer ist.
Maschinennummer
Laufende Nummer
Laufende
Nummer
s
2
@
1000
sA
DruckTastenbedienung
@
s
A
Eine Nummer (eine bis sechs Stellen), die um eins
niedriger als die gewünschte Startnummer ist.
Um mit der Zählung ab 000001 zu beginnen
s
2
Maschinen-
nummer
s
1
@
123456
sA
DruckTastenbedienung
s A
Maschinennummer
(eine bis sechs Stellen)
Um die Maschinennummer auf 0 zu stellen
@s
1
Programmierung der Maschinennummer und der laufenden Nummer
1
A213_3 FOR THE MANAGER(De) 06.4.28 8:55 PM Page 64

Table of Contents

Other manuals for Sharp XE-A213

Related product manuals