EasyManua.ls Logo

Sharp XE-A213 - Programmation de Fonctions Avancees; Programmation du Numéro de Lenregistreuse et du Numéro Consécutif

Sharp XE-A213
484 pages
Print Icon
To Next Page IconTo Next Page
To Next Page IconTo Next Page
To Previous Page IconTo Previous Page
To Previous Page IconTo Previous Page
Loading...
64
PROGRAMMATION DE FONCTIONS AVANCEES
Le numéro de lenregistreuse et les numéros consécutifs sont imprimés sur chaque reçu ou bande de détails
quotidiens.
Lorsque vous avez dans votre magasin deux enregistreuse ou davantage, il est pratique de régler séparément
les numéros des enregistreuses pour faciliter leur identification. Le numéro consécutif est augmenté dun chiffre
à chaque établissement dun reçu ou lorsquune bande de détails quotidiens est établie.
Pour la programmation du numéro consécutif, introduisez un nombre (6 chiffres max.) qui soit inférieur dun
chiffre au numéro de démarrage désiré.
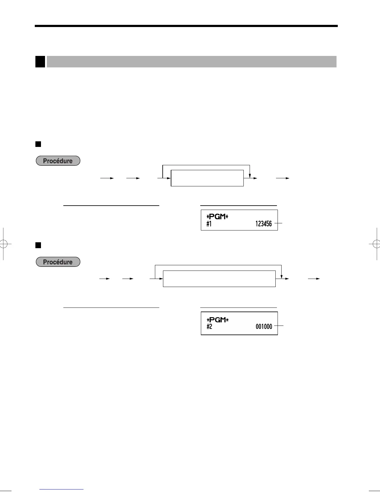
Numéro de lenregistreuse
Numéro consécutif
Numéro
consécutif
s
2
@
1000
sA
Impression
Exemple de manipulation des touches
@
s
A
Un nombre (1 à 6 chiffres) qui soit inférieur
dun chiffre au numéro de démarrage désiré.
Pour commencer le comptage à partir de 000001
s
2
Numéro de
lenregistreuse
s
1
@
123456
sA
Impression
Exemple de manipulation des touches
s A
Numéro de lenregistreuse
(1 à 6 chiffres)
Pour régler le numéro de lenregistreuse sur 0
@s
1
Programmation du numéro de lenregistreuse et du numéro consécutif
1
A213_3 FOR THE MANAGER(Fr) 06.4.28 8:44 PM Page 64

Table of Contents

Other manuals for Sharp XE-A213

Related product manuals