EasyManua.ls Logo

Sharp XE-A213 - Other Text Programming; Foreign Currency Symbol; Domestic Currency Symbol

Sharp XE-A213
484 pages
Print Icon
To Next Page IconTo Next Page
To Next Page IconTo Next Page
To Previous Page IconTo Previous Page
To Previous Page IconTo Previous Page
Loading...
61
Part3
FOR THE MANAGER
Part2Part1
Footer printing
• This programming decides whether or not the machine should print a message at the foot of a receipt when
the
A
key is used. With regard to programming method of footer logo message, refer to “Logo messages”
section on page 25.
Amount tendered entry
• You may select amount tendered, compulsory or optional.
Entry digit limit
• Program upper limit entry for total cash amount which can be handled on the register. The entry digit limit is
in effect for REG mode operation but can be overridden in the MGR mode. The entry digit limit is represented
by the number of allowable digits for the maximum entry or total amount. When “0” is set, the operation of the
corresponding key is prohibited.
Please refer to “Guidance for text programming” on page 14 as for how to entering characters.
Foreign currency symbol (4 digits)
Foreign currency symbol for the
V
key is printed with a foreign currency exchange amount obtained using a
preset rate.
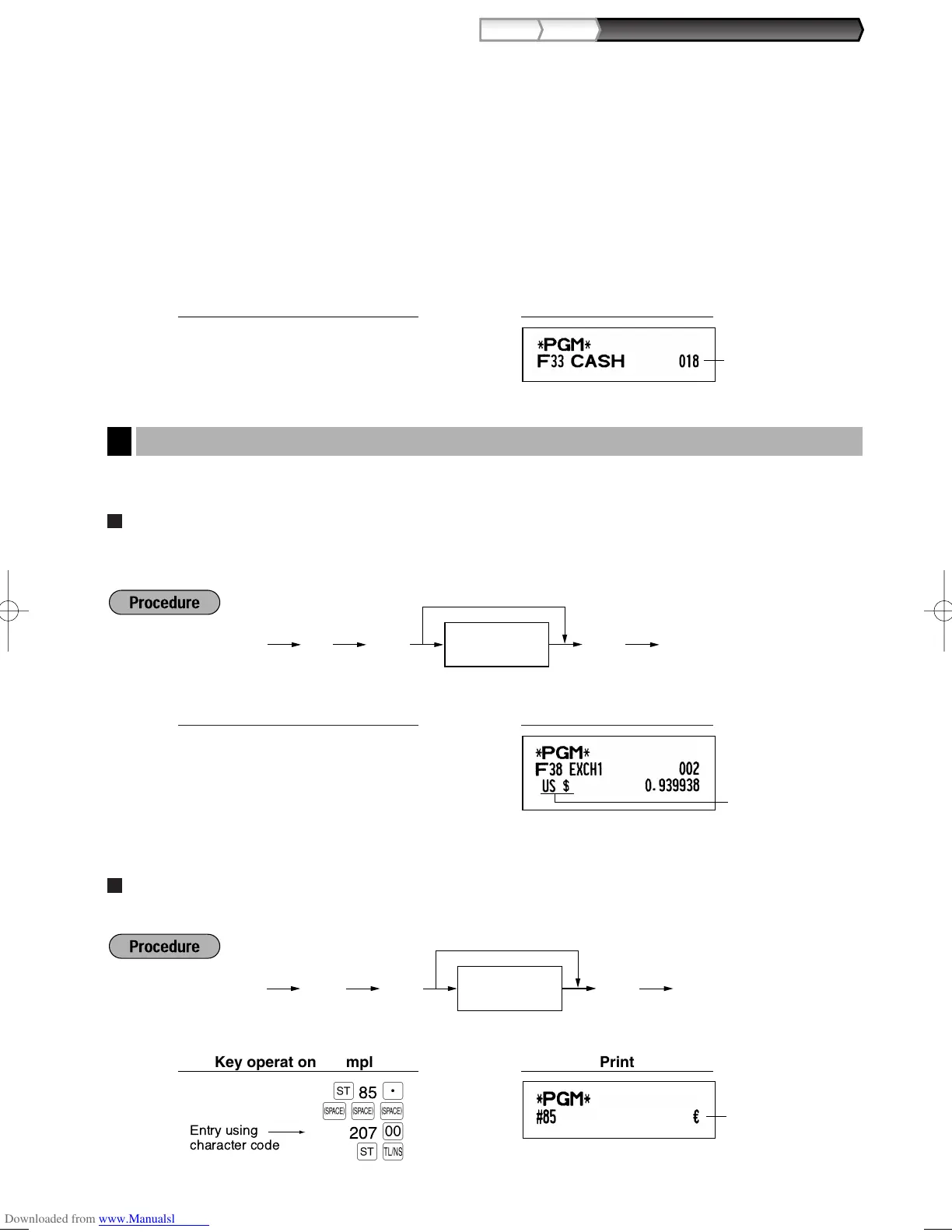
Domestic currency symbol (4 digits)
” is set as a default setting. When you want to change the domestic currency symbol, change the setting.
Domestic
currency symbol
Entry using
character code
s
85
P
SSS
207
:
sA
PrintKey operation example
Character keys
(max. 4 digits)
As
To keep the current setting
sP
85
Foreign currency
symbol
s 6 P
US S $
s A
PrintKey operation example
Character keys
(max. 4 digits)
As
To keep the current setting
sP
6
Other Text Programming
2
From left, ABC
018
@
sA
PrintKey operation example
A213_3 FOR THE MANAGER(SEEG) 06.4.28 8:33 PM Page 61

Table of Contents

Other manuals for Sharp XE-A213

Related product manuals