EasyManua.ls Logo

Sharp XE-A213 - Vente à Crédit; Vente Contre une Offre Mixte; Calcul Dune T.V.A. (Taxe à la Valeur Ajoutée);Taxes; Système de T.V.a.;Taxes

Sharp XE-A213
484 pages
Print Icon
To Next Page IconTo Next Page
To Next Page IconTo Next Page
To Previous Page IconTo Previous Page
To Previous Page IconTo Previous Page
Loading...
41
Partie2
POUR LOPERATEUR
Partie3Partie1
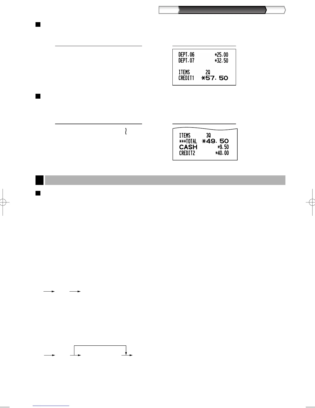
Vente à crédit
Introduisez les articles et appuyez sur une touche de crédit d’achats (
c
ou
b
).
Vente contre une offre mixte
Vous pouvez effectuer l’opération de l’offre mixte d’un chèque et d’une somme au comptant, d’une somme au
comptant et d’une vente à crédit et d’un chèque et d’une vente à crédit.
Système de T.V.A./taxes
La caisse enregistreuse peut être programmée pour les six systèmes deT.V.A./taxes suivants. La caisse
enregistreuse est préprogrammée avec le système de T.V.A. 1-4 automatique.
Système de T.V.A. 1-4 automatique (Méthode dopération automatique utilisant des pourcentages
programmés)
Ce système, en tant qu’opération, calcule la T.V.A. pour des totaux partiels taxables 1 à 4 en utilisant les
pourcentages programmés correspondants.
Système de taxes 1-4 automatique (Méthode dopération automatique utilisant des pourcentages
programmés)
Ce système, en tant qu’opération, calcule des taxes pour des totaux partiels taxables 1 à 4 en utilisant les
pourcentages programmés correspondants, et ajoute respectivement aussi les taxes calculées à ces totaux
partiels.
Système de T.V.A. 1-4 manuel (Méthode dentrée manuelle en utilisant des pourcentages programmés)
Ce système permet le calcul d’une T.V.A. pour des totaux partiels taxables 1 à 4. Ce calcul est effectué en
utilisant les pourcentages programmés correspondants lorsque l’on appuie sur la touche
t
, juste après la
touche
s
.
Système de T.V.A. 1 manuel (Méthode dentrée manuelle pour les totaux partiels qui utilisent les
pourcentages préréglés dune T.V.A. 1)
Ce système permet le calcul d’une T.V.A. pour le dit total partiel. Ce calcul se fait en utilisant les pourcentages
préréglés de la T.V.A. lorsque l’on appuie sur la touche
t
, juste après la touche
s
. Pour ce système, le taux
de la taxe introduit manuellement peut être utilisé.
s t
Taux de la T.V.A.
Pour utiliser un taux programmé
s t
Calcul dune T.V.A. (Taxe à la valeur ajoutée)/taxes
6
s
950 A
b
Impression du reçu
Exemple de manipulation des touches
2500
(
7
d
3250
d
c
Impression du reçu
Exemple de manipulation des touches
A213_2 FOR THE OPERATOR(Fr) 06.4.28 8:42 PM Page 41

Table of Contents

Other manuals for Sharp XE-A213

Related product manuals