EasyManua.ls Logo

Sharp XE-A213 - Credit, Mixed-Tender Sales, and VAT;Tax Systems

Sharp XE-A213
484 pages
Print Icon
To Next Page IconTo Next Page
To Next Page IconTo Next Page
To Previous Page IconTo Previous Page
To Previous Page IconTo Previous Page
Loading...
40
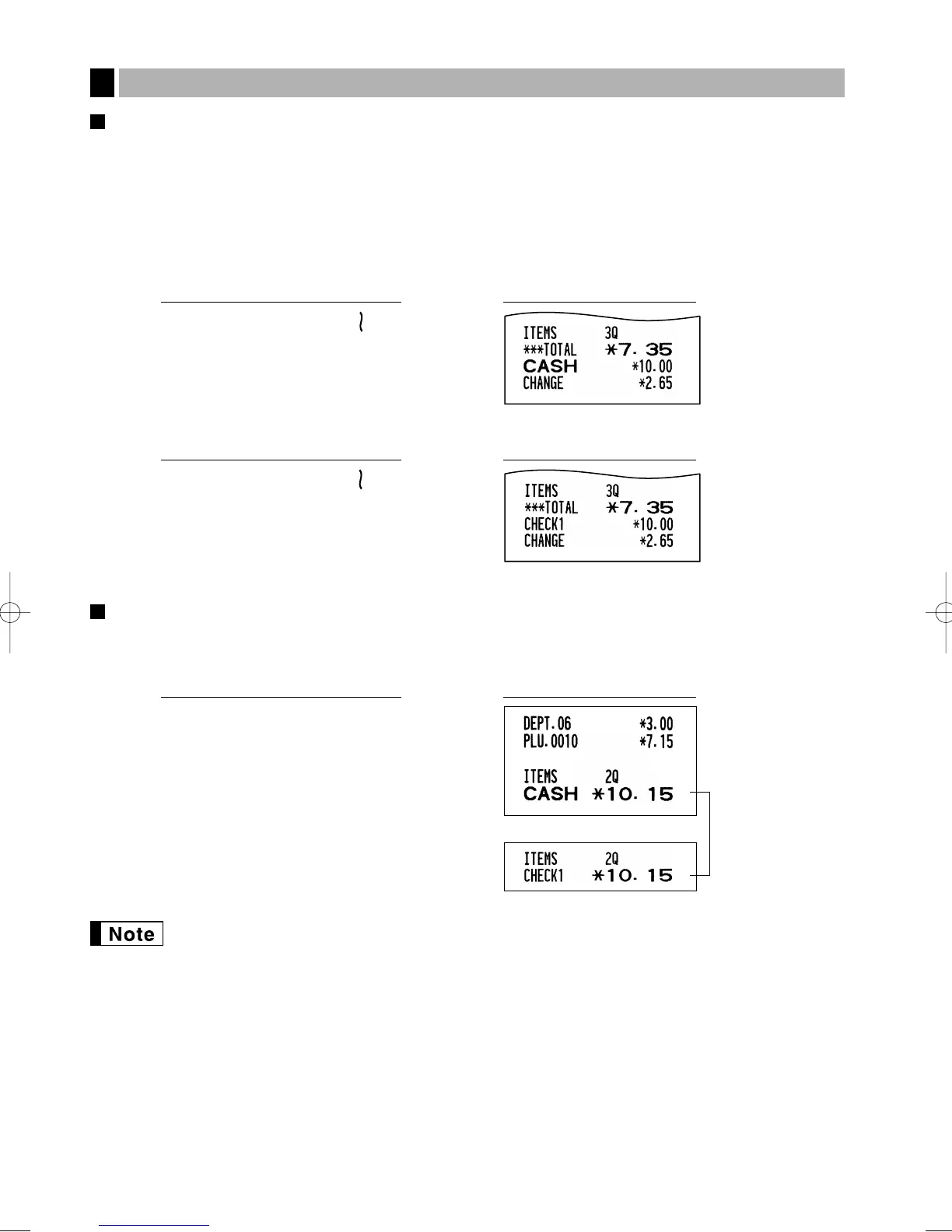
Cash or cheque tendering
Press the
s
key to get a subtotal, enter the amount tendered by your customer, then press the
A
key if it is a
cash tender or press a cheque key (
X
or
Y
)
if it is a cheque tender. When the amount tendered is greater
than the amount of the sale, the register will show the change due amount with the function message
“CHANGE”. Otherwise the register will show a deficit with the function message “DUE”. You now must make a
correct tender entry.
Cash tendering
Cheque tendering
Cash or cheque sale that does not require tender entry
Enter items and press the
A
key if it is a cash sale or press a cheque key if it is a cheque sale. The register
will display the total sale amount.
When programmed not to allow “direct non-tender finalization after tendering” (Job code 63, refer to
page 68), you must always enter a tender amount.
In the case of cheque 1 sale
300
(
º
A
Receipt printKey operation example
s
1000 X
Receipt printKey operation example
s
1000 A
Receipt printKey operation example
Finalization of Transaction
5
A213_2 FOR THE OPERATOR 06.4.28 8:01 PM Page 40

Table of Contents

Other manuals for Sharp XE-A213

Related product manuals