EasyManua.ls Logo

Sharp XE-A213 - Plu Niveau Shift (Voor Directe Plu Toets)

Sharp XE-A213
484 pages
Print Icon
To Next Page IconTo Next Page
To Next Page IconTo Next Page
To Previous Page IconTo Previous Page
To Previous Page IconTo Previous Page
Loading...
38
PLU niveau shift (voor directe PLU toets)
U kunt het aantal directe PLU toetsen van uw kassa met deze functie verdubbelen of verdrievoudigen zonder
extra directe PLU toetsen toe te voegen. U kunt de directe PLU toetsen op drie verschillende niveau’s gebruiken
door middel van de shift-toetsen
Ò
,
Ú
en
Æ
. Deze toetsen hebben de volgende functies.
Ò
: Verandert het PLU niveau van niveau 2 of 3 naar niveau 1 (normale niveau).
Ú
: Verandert het PLU niveau van niveau 1 of 3 naar niveau 2.
Æ
: Verandert het PLU niveau van niveau 1 of 2 naar niveau 3.
U kunt een van de twee PLU niveau shift-functies kiezen — automatische terugkeerfunctie* en vergrendelde
shift-functie** — en vervolgens bepalen of PLU niveau shift in zowel de REG als MGR functies of uitsluitend in
de MGR functie is toegestaan.
* Met de automatische terugkeerfunctie wordt het PLU niveau automatisch terug naar niveau 1 gesteld. U kunt
kiezen of het PLU niveau iedere keer na het invoeren van één onderdeel
of na het voltooien van één
transactie moet worden teruggesteld.
** Met de vergrendelde shift-functie wordt het huidige PLU niveau vergrendeld totdat u op een PLU niveau shift-
toets drukt.
Met de fabrieksinstelling kunt u PLU niveau shift in zowel de REG als MGR functies met de automatische
terugkeerfunctie gebruiken (er wordt naar niveau 1 teruggekeerd na het invoeren van een onderdeel). Zie “PLU
niveau shift en GLU functie parameters” op bladzijde 67 voor het veranderen van de instelling.
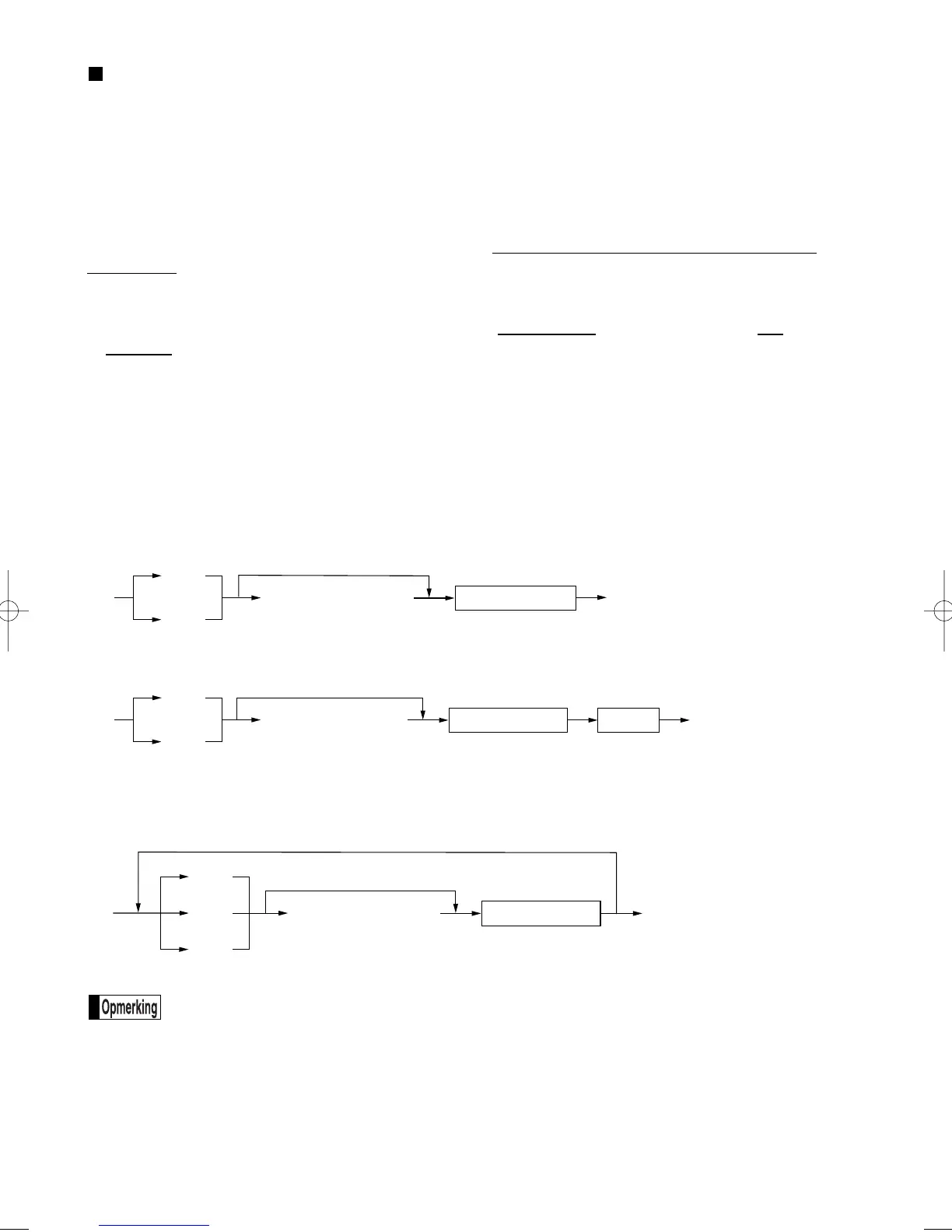
Automatische terugkeerfunctie
Terugkeren naar niveau 1 na het invoeren van een artikel (fabrieksinstelling)
Terugkeren naar niveau 1 na het voltooien van een transactie
Shift-vergrendeling
Indien u de automatische terugkeerfunctie kiest, hoeft u de
Ò
toets van het toetsenbord niet te
gebruiken. Bij gebruik van de shift-vergrendeling heeft u deze toets echter wel nodig.
Invoer met cijfertoetsen
(hoeveelheid,
@
)
(Zelfde niveau blijft ingesteld)
Veranderen van niveau van een andere PLU
Ò
Ú
Æ
Directe PLU toets
Invoer met cijfertoetsen
(hoeveelheid,
@
)
(Terug naar niveau 1)
Ú
Æ
Directe PLU toets
Betaling
Invoer met cijfertoetsen
(hoeveelheid,
@
)
( Terug naar niveau 1)
Ú
Æ
Directe PLU toets
A213_2 FOR THE OPERATOR(Ne) 06.5.29 3:10 PM Page 38

Table of Contents

Other manuals for Sharp XE-A213

Related product manuals