EasyManua.ls Logo

Sharp XE-A213 - Programmeren Van Geavanceerde Functies; Programmeren Van Kassanummer en Volgnummer

Sharp XE-A213
484 pages
Print Icon
To Next Page IconTo Next Page
To Next Page IconTo Next Page
To Previous Page IconTo Previous Page
To Previous Page IconTo Previous Page
Loading...
64
PROGRAMMEREN VAN
GEAVANCEERDE FUNCTIES
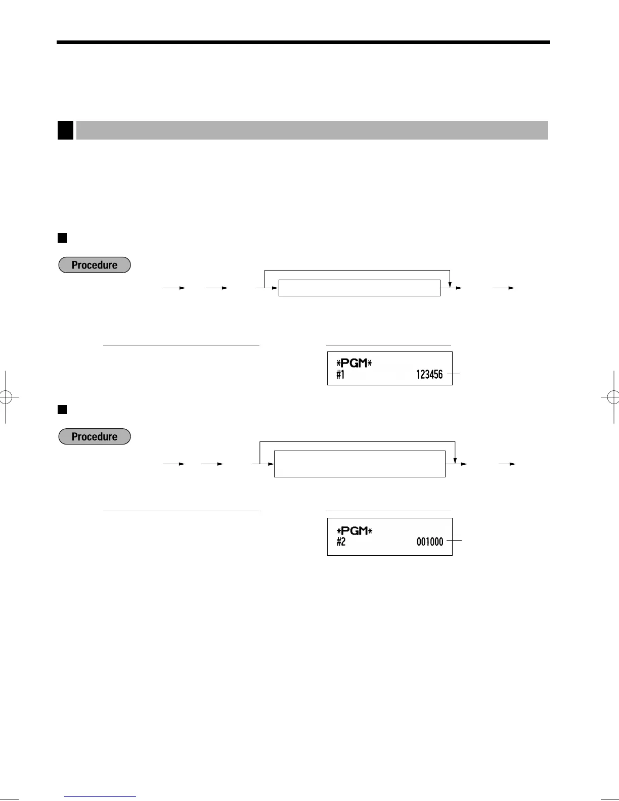
Het kassanummer en volgnummer wordt op iedere bon of overzicht afgedrukt.
Indien u twee of meer kassas heeft, is het handig om ter identificatie afzonderlijke kassanummers in te stellen.
Het volgnummer wordt iedere keer dat een bon of overzicht wordt afgedrukt met één verhoogd.
Voor het programmeren van het volgnummer, moet u starten met een nummer (max. 6 cijfers) dat één lager is
dan het gewenste startnummer.
Kassanummer
Volgnummer
Volgnummer
s
2
@
1000
sA
AfdrukToetsbediening voorbeeld
@
s
A
Een nummer (één t/m zes cijfers) dat één
lager is dan het gewenste startnummer
Starten vanaf volgnummer 000001
s
2
Kassanummer
s
1
@
123456
sA
AfdrukToetsbediening voorbeeld
s A
Registreer nummer (één t/m zes cijfers)
Registreren van nummer 0
@s
1
Programmeren van kassanummer en volgnummer
1
A213_3 FOR THE MANAGER(Ne) 06.4.28 9:00 PM Page 64

Table of Contents

Other manuals for Sharp XE-A213

Related product manuals