EasyManua.ls Logo

Sharp XE-A213 - Changement de Niveau Dun PLU (pour une Touche de PLU Direct)

Sharp XE-A213
484 pages
Print Icon
To Next Page IconTo Next Page
To Next Page IconTo Next Page
To Previous Page IconTo Previous Page
To Previous Page IconTo Previous Page
Loading...
38
Changement de niveau dun PLU (pour une touche de PLU direct)
Ce changement peut doubler ou tripler le nombre de touches de PLU directs sur votre enregistreuse, sans
devoir ajouter des touches de PLU directs supplémentaires. Vous pouvez utiliser des touches de PLU directs
sur trois niveaux en utilisant les touches de changement
Ò
,
Ú
et
Æ
. Ces touches ont les fonctions
suivantes:
Ò
: Change le niveau du PLU du niveau 2 ou 3 au niveau 1 (niveau ordinaire).
Ú
: Change le niveau du PLU du niveau 1 ou 3 au niveau 2.
Æ
: Change le niveau du PLU du niveau 1 ou 2 au niveau 3.
Vous pouvez choisir un des deux modes de changement de niveau d’un PLU — mode de retour automatique* et
mode de changement de blocage** — et décider si vous autorisez un changement de niveau d’un PLU à la fois
sur les modes REG et MGR ou sur le mode MGR seul.
* Le mode de retour automatique fait revenir automatiquement le niveau du PLU au niveau 1. Vous pouvez
choisir si le niveau du PLU reviendra au niveau 1 chaque fois que vous introduisez un article
ou chaque fois
que vous achevez une opération
.
** Le mode de changement de blocage maintient le niveau du PLU en cours en appuyant sur une touche de
changement de niveau PLU.
Implicitement, vous pouvez opérer le changement de niveau d’un PLU à la fois sur les modes REG et MGR,
sous le mode de retour automatique (retour au niveau 1 après l’entrée d’un article). Pour changer ce réglage,
veuillez vous référer à “Changement de niveau d’un PLU et paramètres de fonction de GLU (recherche des
données d’un client)” à la page 67.
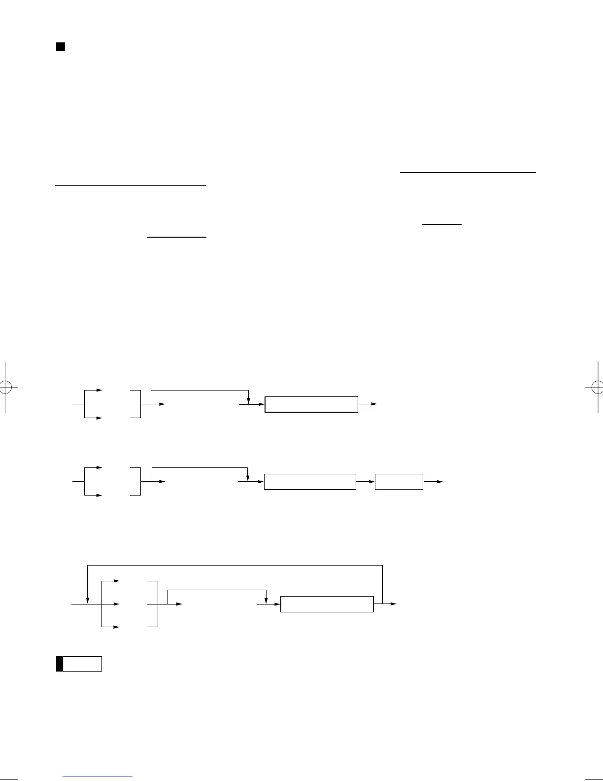
Mode de retour automatique
Retour au niveau 1 après l’entrée d’un article (implicitement)
Retour au niveau 1 après l’achèvement d’une opération
Mode de changement de blocage
Si vous choisissez le mode de retour automatique, il n’est pas nécessaire d’utiliser la touche
Ò
sur le clavier, mais si vous choisissez le mode de changement de blocage, il est nécessaire
d’utiliser cette touche.
Nota
Entrée numérique
(Qté,
@
)
(Maintient le niveau en cours)
Pour changer le niveau dun autre PLU
Ò
Ú
Æ
Touche de PLU direct
Entrée numérique
(Qté,
@
)
( Retour au niveau 1)
Ú
Æ
Touche de PLU direct
Payement
Entrée numérique
(Qté,
@
)
(Retour au niveau 1)
Ú
Æ
Touche de PLU direct
A213_2 FOR THE OPERATOR(Fr) 06.4.28 8:42 PM Page 38

Table of Contents

Other manuals for Sharp XE-A213

Related product manuals