EasyManua.ls Logo

Sharp XE-A213 - Invoer Met Vermenigvuldiging; Invoeren Van Contante Verkoop Van Één Artikel (Sics)

Sharp XE-A213
484 pages
Print Icon
To Next Page IconTo Next Page
To Next Page IconTo Next Page
To Previous Page IconTo Previous Page
To Previous Page IconTo Previous Page
Loading...
37
Deel2
VOOR DE WINKELBEDIENDE
Deel3Deel1
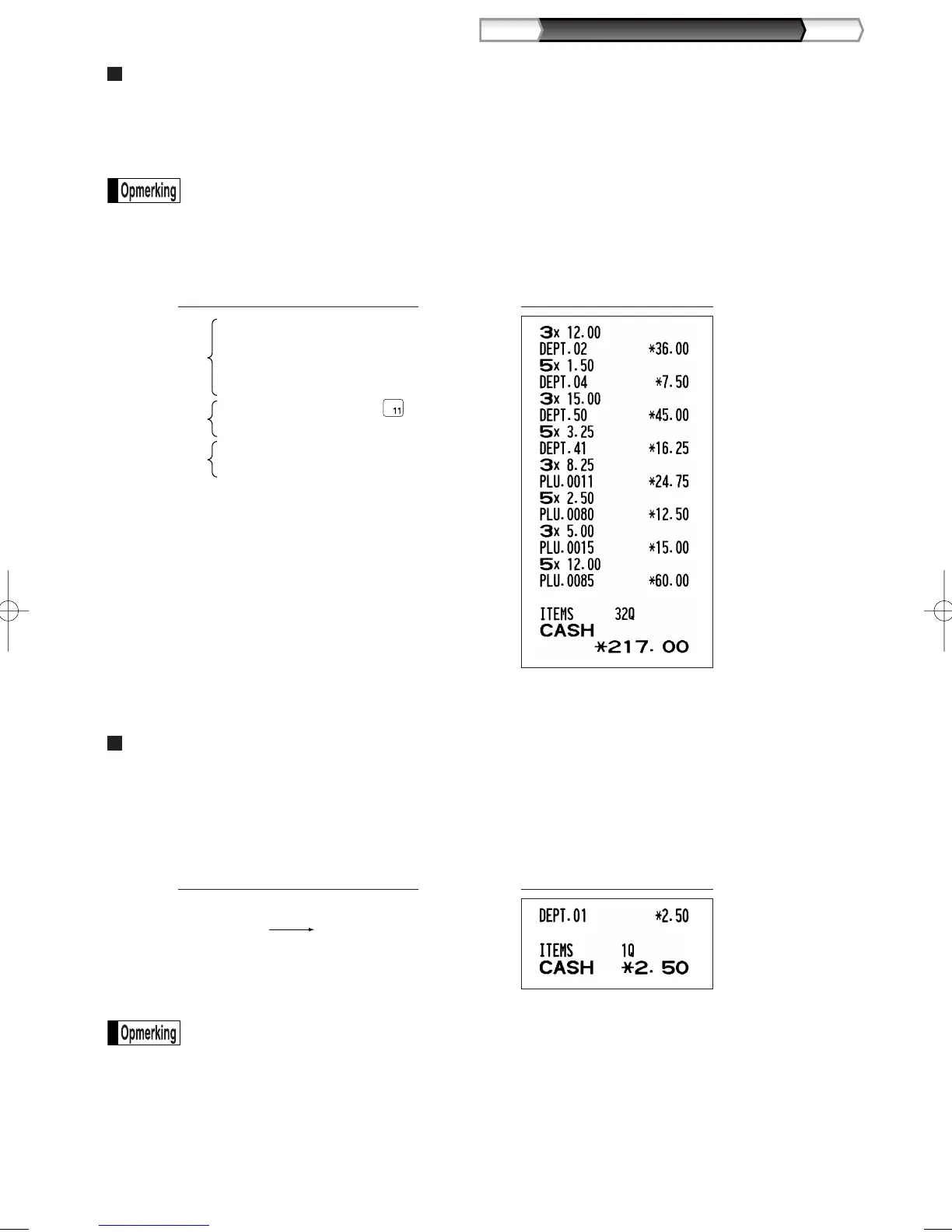
Invoer met vermenigvuldiging
Indien u een hoog aantal, dezelfde artikelen verkoopt, kunt u de vermenigvuldigingsmethode gebruiken. Voer
het aantal met de cijfertoetsen in en druk op de
@
toets alvorens de overige onderdelen in te voeren zoals u in
het voorbeeld hieronder ziet.
Indien u heeft geprogrammeerd dat hoeveelheden met breuken (decimalen) mogen worden
ingevoerd, kunt u maximaal vier gehele getallen en drie-cijferige decimalen invoeren, waarbij de
hoeveelheid echter als één voor het verkoopoverzicht wordt geteld. Voor het invoeren van een
hoeveelheid met breuken, moet u de toets voor de decimale punt tussen het gehele getal en de
decimaal gebruiken.
Invoeren van contante verkoop van één artikel (SICS)
• Deze functie is handig wanneer u slechts één artikel tegen contante betaling verkoopt. Deze functie kan
uitsluitend worden gebruikt voor die afdelingen die voor SICS (“Single Item Cash Sale”) zijn ingesteld of voor
hun verwante PLU’s of subafdelingen.
• De transactie wordt voltooid en de lade opent zodra u op de afdelingtoets,
d
toets, directe PLU toets of
p
toets drukt.
Indien een invoer voor een voor SICS ingestelde afdeling of PLU/subafdeling volgt na invoer voor
afdelingen of PLU’s/subafdelingen die niet voor SICS zijn ingesteld, zal de transactie niet worden
voltooid en als een normale verkoop moeten worden afgewerkt.
Voor voltooien
van transactie
250
!
BonToetsbediening voorbeeld
3 @ 1200 "
5 @ $
3 @ 50 d 1500 d
5 @ 41 d
3 @
5 @ 80 p
3 @ 500
5 @ 85 p 1200 p
A
Invoer
subafdeling
Invoer PLU
Invoer
afdeling
BonToetsbediening voorbeeld
A213_2 FOR THE OPERATOR(Ne) 06.5.29 3:10 PM Page 37

Table of Contents

Other manuals for Sharp XE-A213

Related product manuals