EasyManua.ls Logo

Sharp XE-A213 - Programmeren Van Overige Tekst; Symbool Voor Buitenlandse Valuta; Symbool Voor Nationale Valuta

Sharp XE-A213
484 pages
Print Icon
To Next Page IconTo Next Page
To Next Page IconTo Next Page
To Previous Page IconTo Previous Page
To Previous Page IconTo Previous Page
Loading...
61
Deel3
VOOR DE MANAGER
Deel2Deel1
Afdrukken van voetnoot
U kunt programmeren of de kassa wel of niet een voetnoot moet afdrukken op de bon na een druk op de
A
toets. Zie Logo-mededelingen op bladzijde 25 voor details aangaande het programmeren van een logo voor
de voetnoot.
Invoeren ontvangen bedrag
U kunt kiezen of het van de klant ontvangen bedrag wel of niet moet worden ingevoerd.
Invoerlimiet voor cijfers
Programmeer het hoogste aantal cijfers voor contante bedragen dat met de kassa kan worden verwerkt. De
limiet voor het aantal cijfers is effectief voor bedieningen tijdens de REG functie, maar kan echter worden
overschreden tijdens de MGR functie. De limiet voor het aantal cijfers wordt getoond door het getal dat is
ingesteld voor het maximale bedrag dat kan worden ingevoerd of het totale bedrag. Met 0 ingesteld, is het
gebruik van de overeenkomende toets verboden.
Zie Begeleiding voor het programmeren van tekst op bladzijde 14 voor het invoeren van tekens.
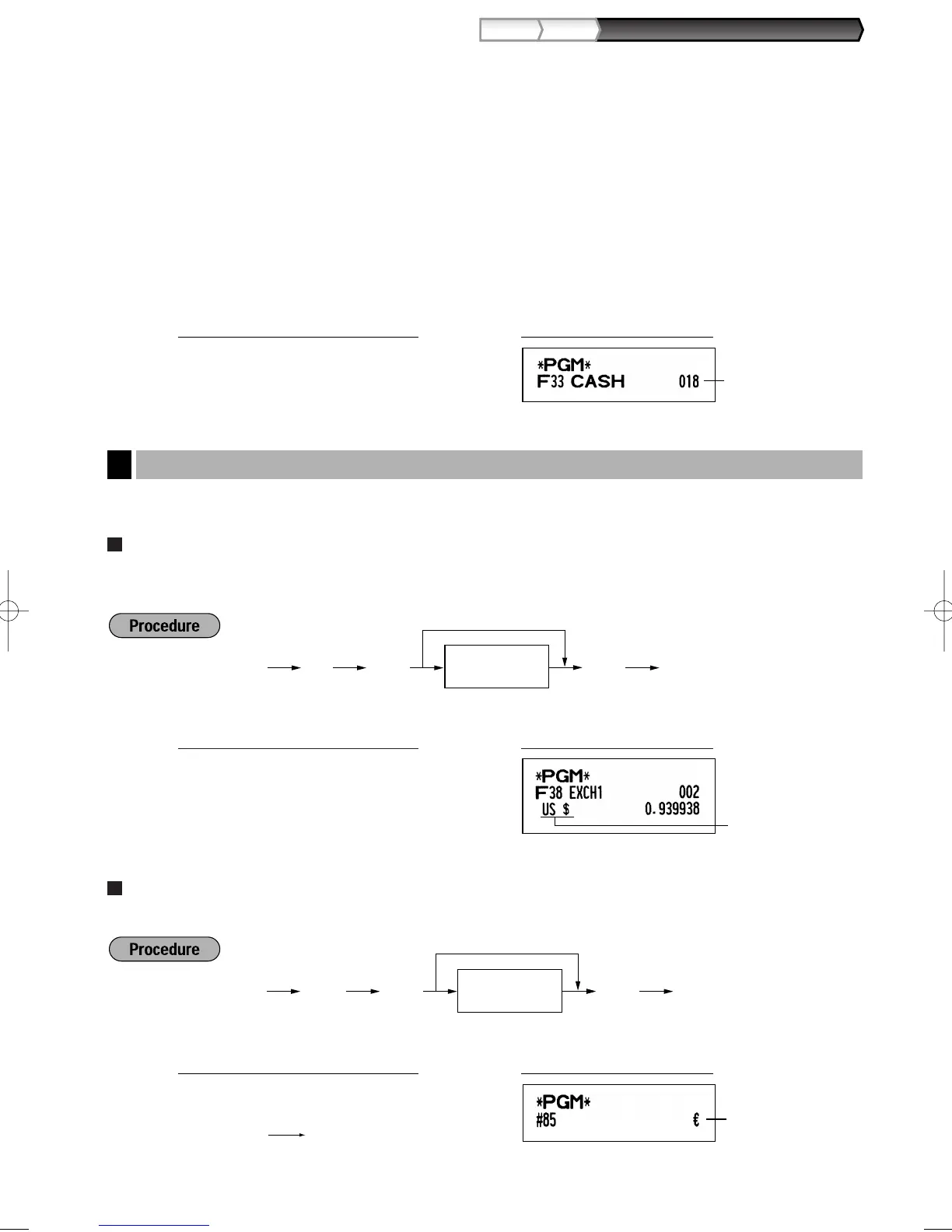
Symbool voor buitenlandse valuta (4 tekens)
Het symbool voor buitenlandse valuta van de
V
toets wordt afgedrukt wanneer een bedrag met vooraf-
ingestelde koers in buitenlandse valuta wordt berekend.
Symbool voor nationale valuta (4 tekens)
“” is de fabrieksinstelling. Verander indien u een ander symbool voor de nationale valuta wilt gebruiken.
Symbool voor
nationale valuta
Invoer met
tekencode
s 85 P
S S S
207 :
s
A
AfdrukToetsbediening voorbeeld
Tekentoetsen
(max. 4 tekens)
As
Behouden van huidige instelling
sP
85
Symbool voor
buitenlandse valuta
s 6 P
US S $
s A
AfdrukToetsbediening voorbeeld
Tekentoetsen
(max. 4 tekens)
As
Behouden van huidige instelling
sP
6
Programmeren van overige tekst
2
Vanaf links, ABC
018
@
sA
AfdrukToetsbediening voorbeeld
A213_3 FOR THE MANAGER(Ne) 06.4.28 9:00 PM Page 61

Table of Contents

Other manuals for Sharp XE-A213

Related product manuals