EasyManua.ls Logo

Shibaura CM284 - Page 100

Shibaura CM284
219 pages
Print Icon
To Next Page IconTo Next Page
To Next Page IconTo Next Page
To Previous Page IconTo Previous Page
To Previous Page IconTo Previous Page
Loading...
99
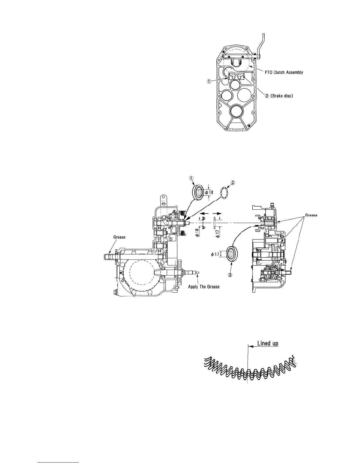
7. If removed, use care the plate , direction for brake
disc of PTO clutch assembly.
8. Align the brake disc projection , of PTO clutch in
the plate .
9. Apply the grease to the 18 mm inside diameter of
bearing race , and ball bearings , and install
them on the PTO clutch drive shaft.
The 17 mm inside diameter of bearing race , is
installed to the coupling with apply the grease in the
rear transmission housing.
342X
342-1X
10. Apply requid gasket to the matching surfaces of both
transmission housing.
11. PTO cluch separater plates tooth are lined up before
install rear transmission housing.
343X

Table of Contents

Other manuals for Shibaura CM284

Related product manuals