EasyManua.ls Logo

Shibaura CM284 - Page 39

Shibaura CM284
219 pages
Print Icon
To Next Page IconTo Next Page
To Next Page IconTo Next Page
To Previous Page IconTo Previous Page
To Previous Page IconTo Previous Page
Loading...
38
Turn the ring to allow the oil to ensure the ring
groove sufficiently, and set the ring end gaps at 90°
respectively avoiding piston pin direction and the
direction at a right angle to the piston pin.
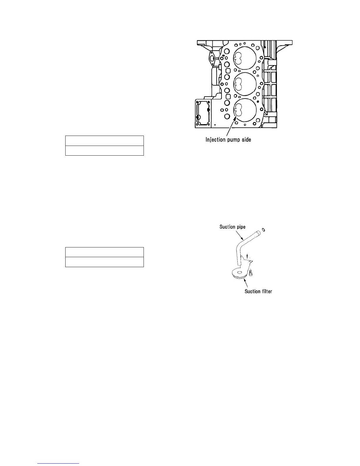
Insert the ring facing the connecting rod figure
match mark toward the injection pump side, using
ring pliers.
NOTE: Place the smallest connecting rod figure
match mark to the front side so that the
figures increase gradually.
Tighten the connecting rod cap with the specified
torque and check for the axial play.
Connecting rod tightening torque
49 – 54 N·m {5.0 – 5.5 kgf·m}
NOTE:
1. After tightening, confirm that the crankshaft
moves lightly.
2. The connecting rod should move 0.1 – 0.3 mm in
the axial direction.
7. Suction pipe · Suction filter
Fit an O-Ring to the suction pipe and insert the
suction pipe to the cylinder block.
Place the suction pipe end into the suction filter and
fix the suction filter.
Suction filter tightening torque
9 – 13 N·m {0.9 – 1.3 kgf·m}
065X
066X

Table of Contents

Other manuals for Shibaura CM284

Related product manuals