EasyManua.ls Logo

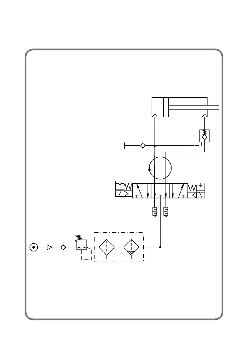
SICE S 63 E - Schema Pneumatico

SICE S 63 E
Print Icon
To Next Page IconTo Next Page
To Next Page IconTo Next Page
To Previous Page IconTo Previous Page
To Previous Page IconTo Previous Page
Loading...
Manuale d’uso S 63 E - S 63 E C 71
SCHEMA PNEUMATICO
Alimentazione Aria: 7÷10 bar (100-145 psi)

Table of Contents

Related product manuals