EasyManua.ls Logo

Siemens SIRIUS 3SK1 - Design

Siemens SIRIUS 3SK1
262 pages
To Next Page IconTo Next Page
To Next Page IconTo Next Page
To Previous Page IconTo Previous Page
To Previous Page IconTo Previous Page
Loading...
3SK1 devices
5.1 3SK1 standard
3SK1 safety relays
Manual, 04/2013, A5E02526190021A/RS-AA/01
45
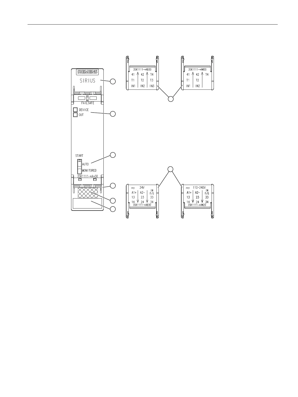
5.1.3.3 Design
Top cover flap
Top cover flap; internal inscription
Display LEDs
Slide switch
Bottom cover flap
Bottom cover flap; internal inscription
DataMatrix code
Device identification label

Table of Contents

Other manuals for Siemens SIRIUS 3SK1

Related product manuals