EasyManua.ls Logo

Siemens SISTORE AX9

Siemens SISTORE AX9
92 pages
To Next Page IconTo Next Page
To Next Page IconTo Next Page
To Previous Page IconTo Previous Page
To Previous Page IconTo Previous Page
Loading...
Operation
4.2.1 Active Cameo Mode
You can enter the Active Cameo mode by pressing the button in any multi-view
format. The grey-highlight box at the bottom of video indicates the active cameo,
and pressing the arrow buttons moves the active cameo. Pressing the
button
while in the Active Cameo mode exits the Active Cameo mode. The active cameo
mode will remain in effect for 15 seconds if there is no further action.
In Active Cameo mode, press the camera button you want to display as active
cameo. After selecting a camera number as active cameo, the DVR moves the
active cameo to the next position. You can change the screen layout using this
process. The screen layout can also be changed in the playback mode.
The active cameo also can be used to select a camera to control Pan, Tilt and
Zoom capabilities. In the PTZ mode, enter the Active Cameo mode by pressing
the
button, and move the active cameo to the camera you want to control. Then
exit from the Active Cameo mode by pressing the
button again to control the
selected camera.
NOTE:
The active cameo mode can be set or released in the playback mode while playback video is paused.
4.2.2 PIP Mode
You can display a Picture-in-Picture by pressing the Display button. You can
change the location of the PIP by pressing the Up and Down arrow buttons and its
size by pressing the Left and Right arrow buttons.
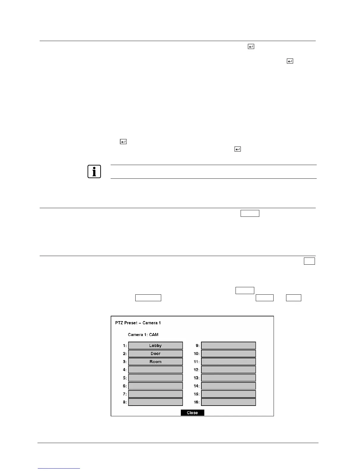
4.2.3 PTZ Mode
The DVR will control cameras with Pan, Tilt and Zoom capabilities. Press the PTZ
button to enter the PTZ mode. You can control the camera using front panel
control buttons or by setting up presets. To use the front panel buttons, press the
Left and Right arrow buttons to pan left and right. Press the Up and Down arrow
buttons to tilt the camera up and down. Press the Display button to zoom in, and
press the Sequence button to zoom out. You can use the Freeze and Alarm
buttons to focus the image.
Fig. 73 PTZ Preset screen.
70
Siemens Building Technologies SISTORE AX9 AX16_EN.doc
Fire & Security Products 09.2004

Table of Contents

Other manuals for Siemens SISTORE AX9

Related product manuals