EasyManua.ls Logo

TDK-Lambda Genesys - Page 77

TDK-Lambda Genesys
113 pages
Print Icon
To Next Page IconTo Next Page
To Next Page IconTo Next Page
To Previous Page IconTo Previous Page
To Previous Page IconTo Previous Page
Loading...
71
83532002 Rev C
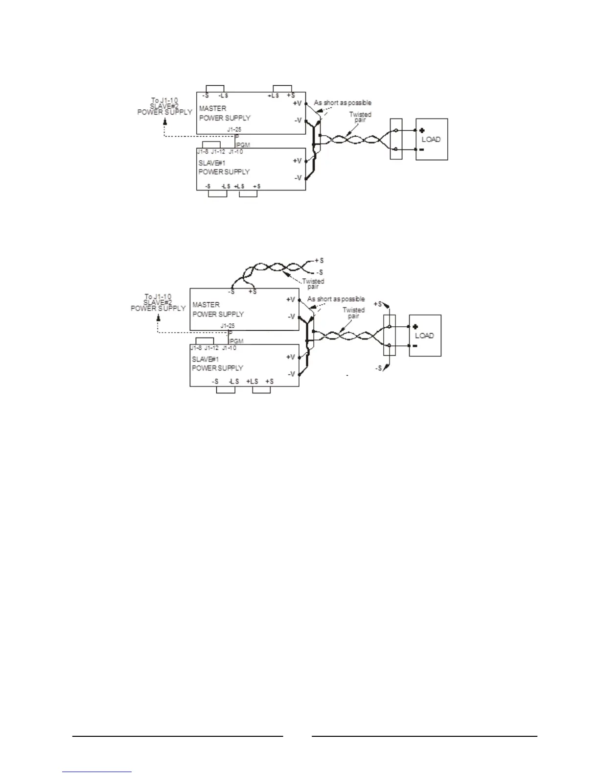
Figure 6-9: Parallel Connection with Local Sensing (Single-Wire Method)
Figure 6-10: Parallel Connection with Remote Sensing (Single-Wire Method)

Table of Contents

Other manuals for TDK-Lambda Genesys

Related product manuals