EasyManua.ls Logo

Vertiv Liebert SmartAisle2 - Page 97

Vertiv Liebert SmartAisle2
141 pages
Print Icon
To Next Page IconTo Next Page
To Next Page IconTo Next Page
To Previous Page IconTo Previous Page
To Previous Page IconTo Previous Page
Loading...
Vertiv | SmartAisle2 | User Manual 88
Installation
Connecting cables
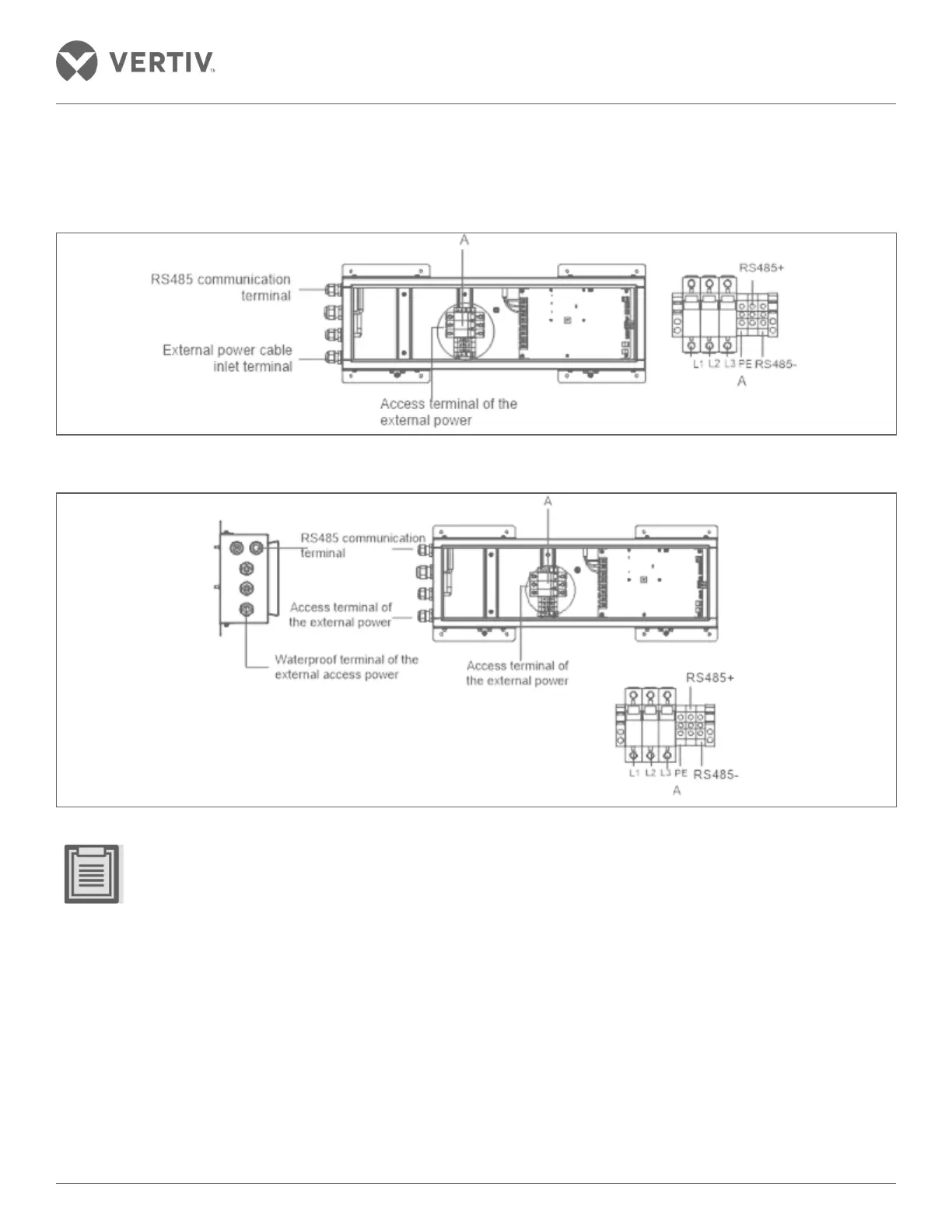
Refer to Figure 2-95 and Figure 2-96 for the external power cable connections:
Figure 2-95 Fan single external power supply wiring
Figure 2-96 Dual blower external power supply wiring
Need to go through an external power line when the waterproof connector of the external power line is
connected to the electrical box. The inner diameter of the joint is ø 10 mm.
Need to go through an external power line, when the waterproof connector of the signal line is connected
to the electrical box of the compressor. The inner diameter of the joint is ø 6 mm.
To ensure the high waterproof performance of the electrical box, use a waterproof glue for the joints after
the external power source is connected.
The indoor units start and stop signal lines lead directly to the condenser.
To prevent the infiltration of the water droplets along the electrical control box of the cable, all the user
must wire the clamp and then lead it to the electrical box.

Table of Contents

Related product manuals