EasyManua.ls Logo

Vitronics Soltec XPM3m - Heat Control Overview

Vitronics Soltec XPM3m
108 pages
Print Icon
To Next Page IconTo Next Page
To Next Page IconTo Next Page
To Previous Page IconTo Previous Page
To Previous Page IconTo Previous Page
Loading...
Technical Reference Manual-XPM3m Revision Date: August 2014
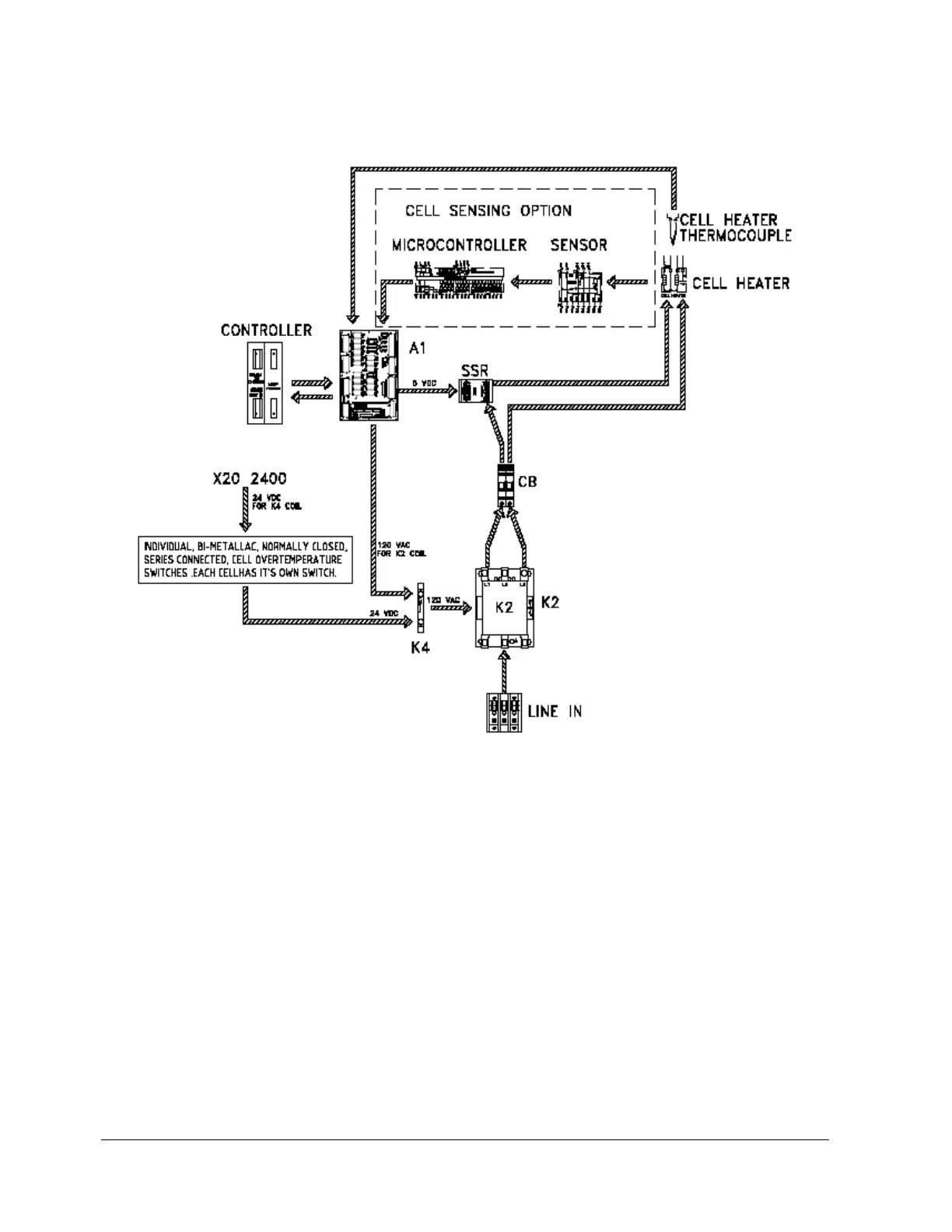
HEAT CONTROL OVERVIEW
The electrical portion of the Heat Control System consists of three major parts:
1) POWER SOURCE:
Three Phase power is provided to the line terminals of the Heater Contactor (K2).
2) CONTROL ELEMENTS:
A) POWER DEVICES:
HEATER CONTACTOR (K2) coil is energized by I/0 Board Output Relay A1-K4, (see Interlocks, below) it’s
contacts close, three phase power is permitted to flow to the Heater CIRCUIT BREAKER(s). (Each Heater
has it’s own Circuit Breaker) and to the SSRs (one Solid State Relay for each Heater) which is the final
Heater power control element.

Table of Contents

Related product manuals