EasyManua.ls Logo

Weber mt MC 85 - The Battery of the Radio Remote Control

Weber mt MC 85
60 pages
Print Icon
To Next Page IconTo Next Page
To Next Page IconTo Next Page
To Previous Page IconTo Previous Page
To Previous Page IconTo Previous Page
Loading...
27
B 1002_2-0120
B 1003-0120
6.3. The battery of the radio remote control
The battery of the radio remote control is composed of three nickel-
metal hydride cells (NiMH) with a total capacity of 2.2 Ah. It can be
chargedanytimewithoutanymemorye󰀨ectevenifnotdrained
completely. If fully drained, the battery will take approx. 9 hours to
recharge. A fully charged battery will last for an operating time of
approx.12hours.Theoperatingtimecanbea󰀨ectedbyavariety
of factors such as cold ambient temperatures.
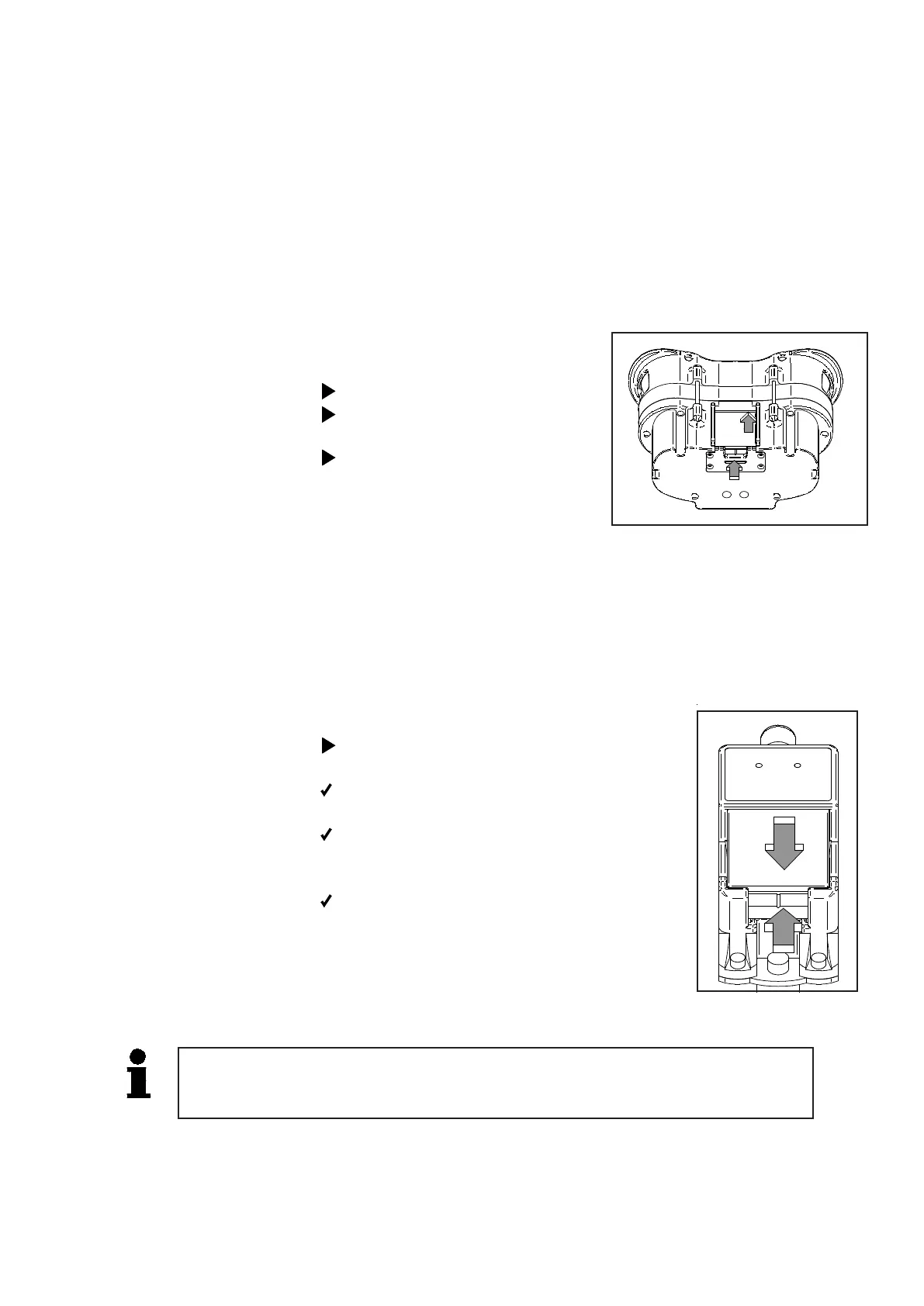
Replacing the battery
Push the battery up.
Remove the battery towards
the rear.
Insert the new battery.
Charging the battery The charger for the battery of the radio remote control is housed
under the cover of the rear hood. It is constantly supplied with power
evenifthekeyswitchhasbeensettothe“0”(OFF)position.
Insert the battery
into the charger.
ThegreenLEDashes
during the charging process.
When the battery is fully charged,
the green LED lights up
permanently.
If the LED is defective,
the red LED lights up.
The charger is self-regulating and will detect when the battery is fully charged.
It limits the charging current and prevents the battery from being overcharged.
The battery can therefore be stored in the charger.

Related product manuals