EasyManua.ls Logo

Worcester Greenstar Heatslave II External 12/18

Worcester Greenstar Heatslave II External 12/18
66 pages
To Next Page IconTo Next Page
To Next Page IconTo Next Page
To Previous Page IconTo Previous Page
To Previous Page IconTo Previous Page
Loading...
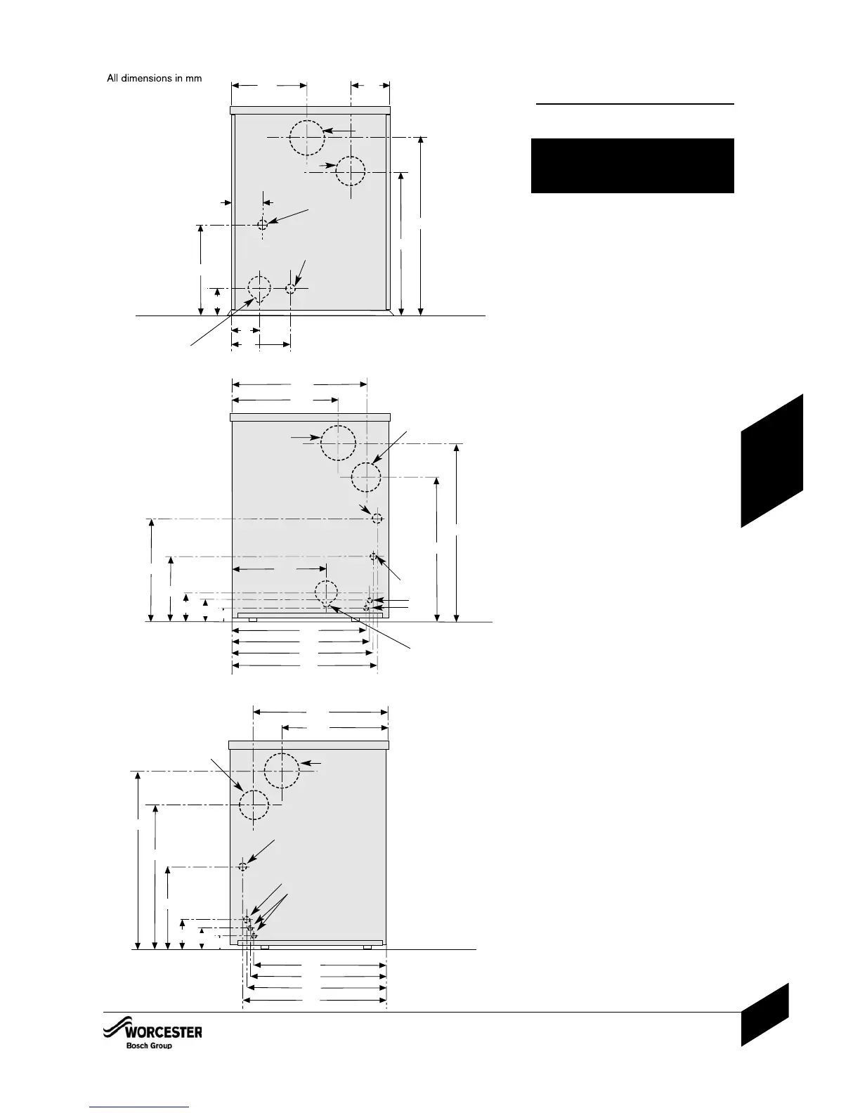
PIPEWORK POSITIONS &
FLUE OPENING
INSTALLATION & SERVICING INSTRUCTIONS FOR GREENSTAR HEATSLAVE II EXTERNAL 12/18-18/25-25/32
6 720 805 210-01
23
INSTALLATION
260
100
260
794
95
435
105
81
161
670
490
794
650
437
230
105
94
55
528
658
669
705
715
327
650
800
124
90
55
715
698
679
658
670
490
SAFETY:
All relevant safety precautions must be undertaken.
Protective clothing, footwear, gloves and safety
goggles must be worn as appropriate.
PIPEWORK CONNECTIONS:
Flow 1” BSP
Return 22mm Ø copper 12/18, 18/25.
28mm Ø copper on 25/32 model.
Services duct 100mm Ø.
Condensate outlet 21.5mm Ø.
Primary drain - hose connection.
NOTE: For servicing purposes, keep the
condensate and pressure relief discharge
pipes away from components and pipework
connections.
CAUTION: Ensure there are no pipes,
electric cables, damp proof courses or
other hazards before drilling.
PIPEWORK & FLUE POSITIONS
Condensate
Flue
Services
PRV
Fire valve capillary
& drain access
Flue
Services
Condensate
PRV
Oil
Flue
Services
Condensate
Oil
PRV
LEFT HAND SIDE
RIGHT HAND SIDE
REAR
Fire valve capillary
& drain access

Other manuals for Worcester Greenstar Heatslave II External 12/18

Related product manuals