EasyManua.ls Logo

Yamato SM511 - Maintenance Procedure; Maintenance Procedures Guide

Yamato SM511
45 pages
Print Icon
To Next Page IconTo Next Page
To Next Page IconTo Next Page
To Previous Page IconTo Previous Page
To Previous Page IconTo Previous Page
Loading...
31
6. MAINTENANCE PROCEDURE
Inspection & Maintenance
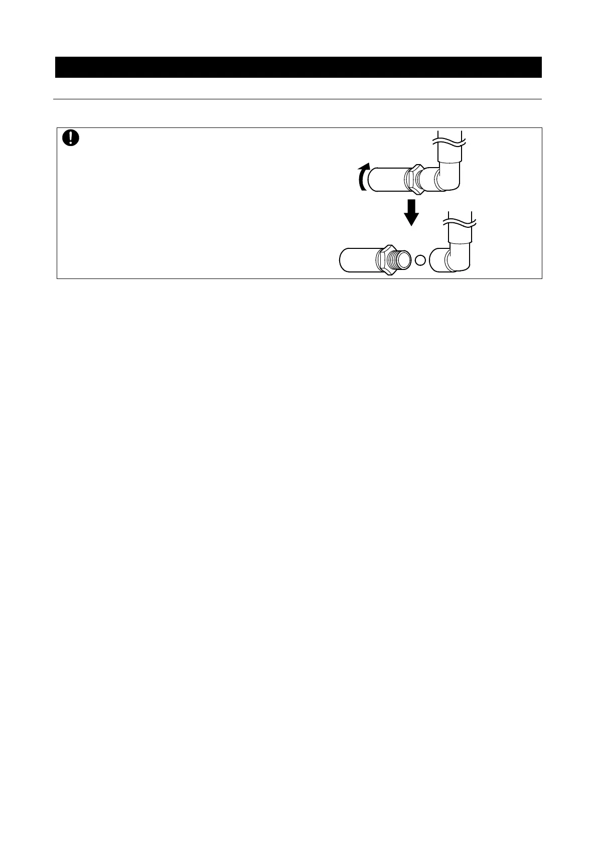
Cleaning silencer
SM sterilizers are equipped with a silencer,
attached to the end of exhaust hose, to reduce
the noise caused by purging air and steam.
Remove silencer and clean once a month. A
ball valve prevents water from flowing back into
chamber. Be careful not to allow ball to drop out
and be lost when removing the silencer. Be sure
to replace ball along with silencer after cleaning.

Related product manuals