EasyManua.ls Logo

Yardistry YM12978 - Step 2: Post Assemblies Part 1

Yardistry YM12978
62 pages
Print Icon
To Next Page IconTo Next Page
To Next Page IconTo Next Page
To Previous Page IconTo Previous Page
To Previous Page IconTo Previous Page
Loading...
13 support@yardistrystructures.com
8- 6 x 8 Post -(1035)
8- Plinth Long(1048)
8- Plinth (458)
8- Post Mounts - (190)
8- 5/16 x 1-1/4" Hex Bolts
16 - #10 x 1-1/4" Pan screws
80 - #8 x 1-1/2" W.S
8- 6 x 8 Post -(1035)
8- Plinth Long(1048)
8- Plinth (458)
8- Post Mounts - (190)
8- 5/16 x 1-1/4" Hex Bolts
16 - #10 x 1-1/4" Pan screws
80 - #8 x 1-1/2" W.S
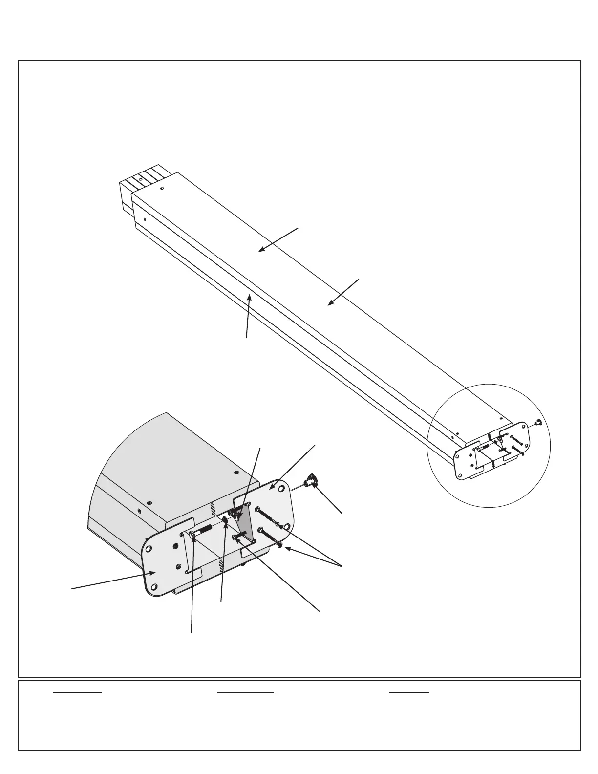
A: At the bottom of one (1035) 6 x 8 Post Left Side insert one 5/16” T-Nut on the outside of each short side. (F2.1
and F2.2)
B: At the bottom of the same post place two Post Mounts tight to the bottom and inside faces on the short sides
as shown in F2.1 and F2.2. Loosely attach with one 5/16 x 1-1/4” Hex Bolt (with 5/16” lock washer and 1/4-
5/16” large washer) per mount so they connect to the T-Nuts. From the bottom attach with two #8 x 1-1/2” Wood
Screws and from the inside with two #10 x 1-1/4” Pan Screws per mount. Tighten bolts.
Step 2: Post Assemblies
Part 1
Wood Parts
F2.1
2 x (1035) 6 x 8 Post Left Side
2 x (1036) 6 x 8 Post Right Side
Top
Bottom
#8 x 1-1/2” Wood Screws
(x 2 per Post Mount, from
outside)
(1035) 6 x 8 Post Left Side /
(1036) 6 x 8 Post Right Side
Post
Mount
F2.2
Hardware
16 x #8 x 1-1/2” Wood Screw
16 x #10 x 1-1/4” Pan Screw
8 x 5/16 x 1-1/4” Hex Bolt
(with 5/16” lock washer, 1/4 - 5/16” large washer, 5/16” t-nut)
Post Mount
5/16” T-Nut (x 1 per
short side)
1/4 - 5/16”
Large Washer
5/16” Lock
Washer
5/16 x 1-1/4” Hex Bolt
(x2 per Post Mount,
from inside)
Short
Side
Long
Side
#10 x 1-1/4” Pan
Screws (x 2 per Post
Mount, from inside)
8 x Post Mount
Components:

Related product manuals