EasyManua.ls Logo

Yardistry YM12978 - Step 4: Long Beam Assembly Part 1

Yardistry YM12978
62 pages
Print Icon
To Next Page IconTo Next Page
To Next Page IconTo Next Page
To Previous Page IconTo Previous Page
To Previous Page IconTo Previous Page
Loading...
17 support@yardistrystructures.com
(Flat,Lock Washers, T-nuts)
28 - #8 x 2-1/2" W.S
(Flat,Lock Washers, T-nuts)
12- 5/16 x 3" Hex Bolts
8- 5/16 x 1-1/2" Hex Bolts
2- Long Beam Centre -(1046)
4- Beam Long End (1047)
4- Beam L0ng (1045)
2- Long Beam Insert (124)
(Flat,Lock Washers, T-nuts)
28 - #8 x 2-1/2" W.S
(Flat,Lock Washers, T-nuts)
12- 5/16 x 3" Hex Bolts
8- 5/16 x 1-1/2" Hex Bolts
2- Long Beam Centre -(1046)
4- Beam Long End (1047)
4- Beam L0ng (1045)
2- Long Beam Insert (124)
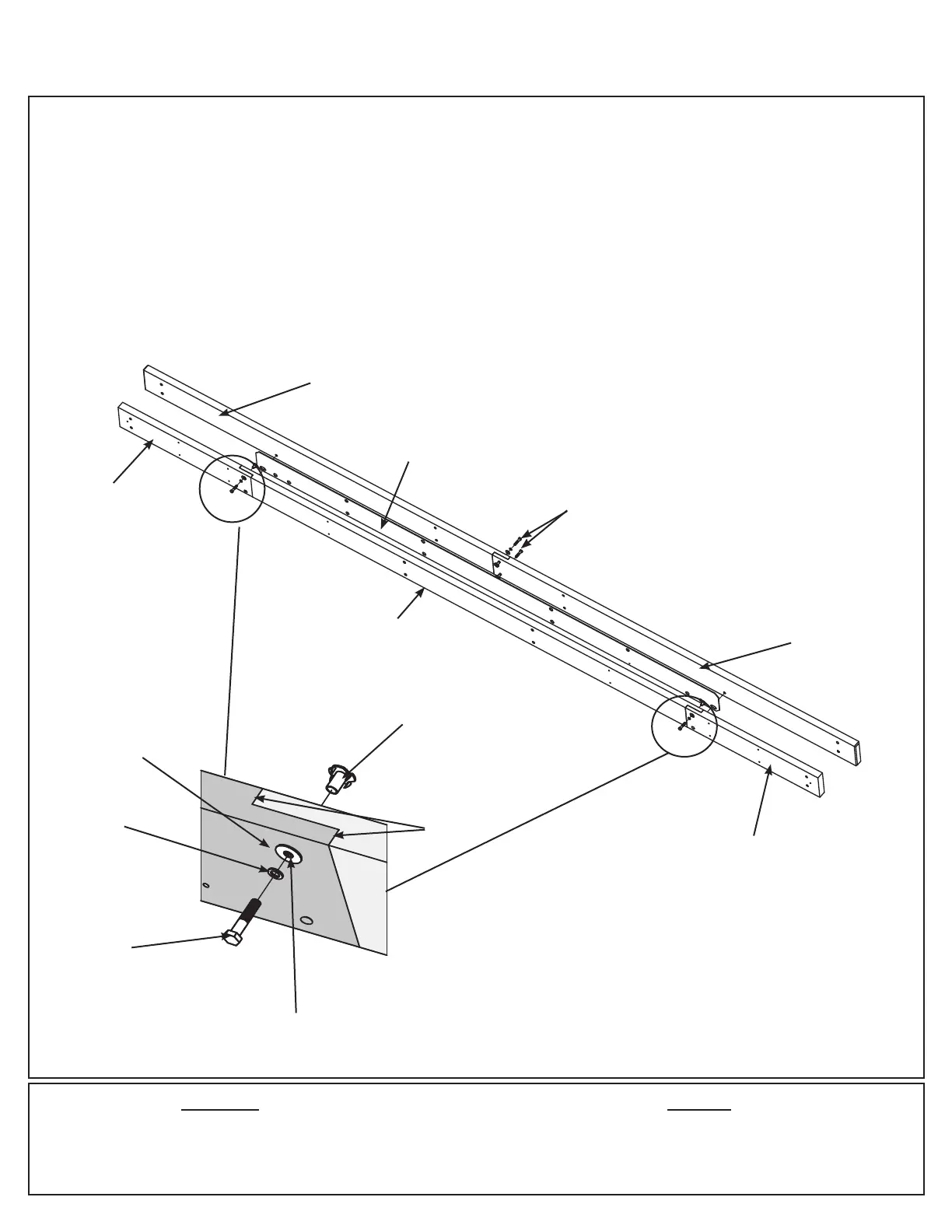
Step 4: Long Beam Assembly
Part 1
A: Connect two (1045) Beam Longs using two 5/16 x 1-1/2” Hex Bolts (with 5/16” lock washer, 1/4-5/16” large
washer and 5/16” t-nut) as shown in F4.1 and F4.2.
B: Connect one (1047) Beam Long End to each end of one (1046) Long Beam Centre using one 5/16 x 1-1/2”
Hex Bolts (with 5/16” lock washer, 1/4-5/16” large washer and 5/16” t-nut) in the top hole, per end as shown in
F4.1 and F4.2.
C: Repeat Steps A and B one more time to make two Beam Long Assemblies and two Long Beam End
Assemblies.
HardwareWood Parts
4 x (1045) Beam Long
2 x (1046) Long Beam Centre
4 x (1047) Beam Long End
8 x 5/16 x 1-1/2” Hex Bolt
(5/16” lock washer, 1/4-5/16” large washer, 5/16” t-nut)
5/16” T-nut
F4.1
F4.2
1/4-5/16”
Large Washer
5/16 x 1-1/2”
Hex Bolt
Tight
5/16” Lock
Washer
5/16 x 1-1/2”
Hex Bolt
(1045)
Beam Long
(1046) Long
Beam Centre
(1047) Beam
Long End
Use top
holes
See Part 2
for this piece
Make sure bolt heads
are on the outside of
each Beam Assembly
(1045)
Beam Long
(1047) Beam
Long End

Related product manuals