EasyManua.ls Logo

Yealink VC400 - Page 38

Yealink VC400
171 pages
To Next Page IconTo Next Page
To Next Page IconTo Next Page
To Previous Page IconTo Previous Page
To Previous Page IconTo Previous Page
Loading...
User Guide for the VC400 Video Conferencing System
26
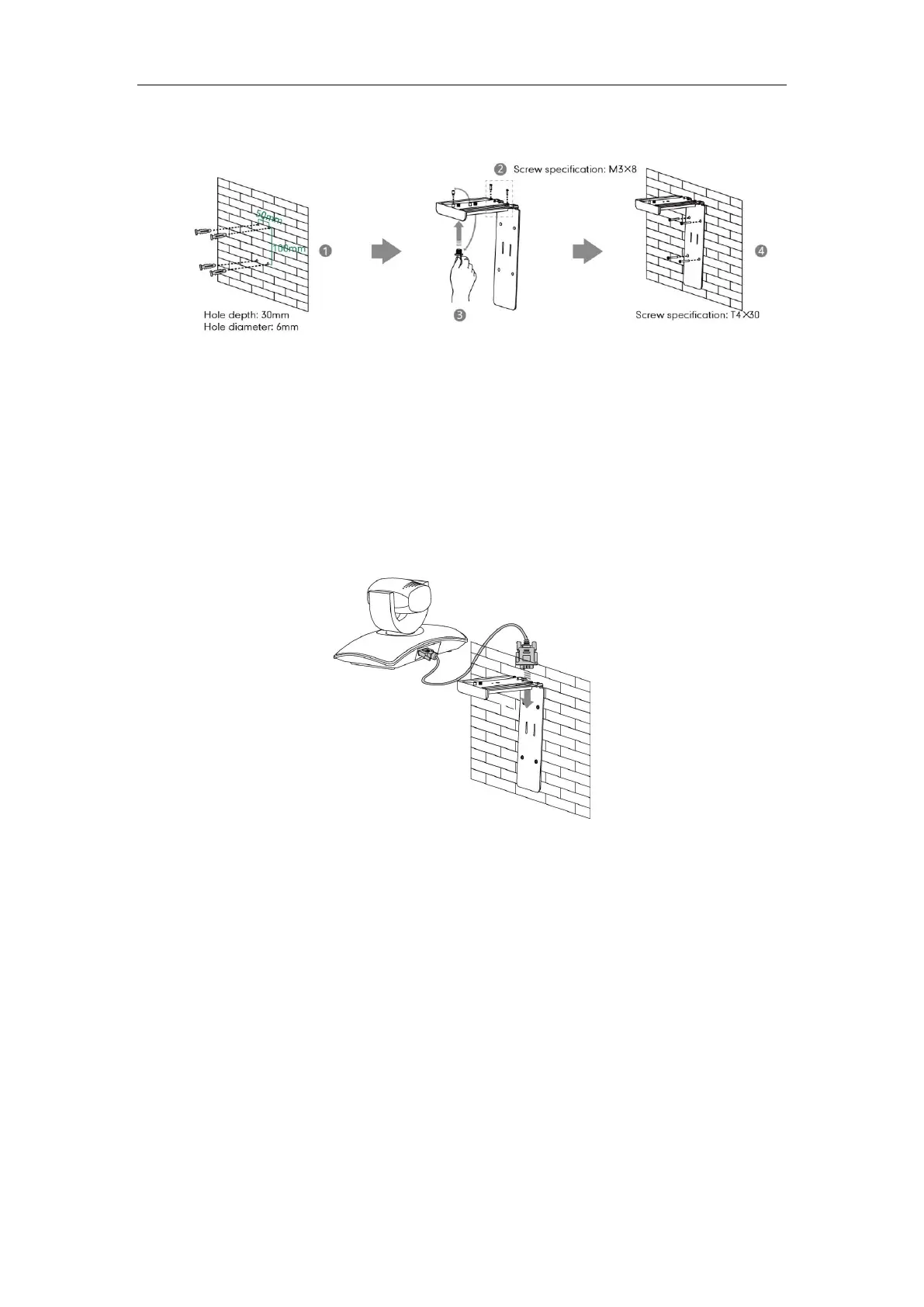
Do the following:
1. Punch holes in the wall and then insert the expansion bolts.
Installation location of the expansion bolts and punching requirement are shown above.
2. Lock the L-bracket with the M3×8 screws.
3. Adjust the screws position and manually lock them.
4. Lock the L-bracket to the wall with T4×30 screws.
5. Connect one end of the DVI cable to the camera and put the other end of the cable
through the L-bracket.

Table of Contents

Other manuals for Yealink VC400

Related product manuals