EasyManua.ls Logo

ABB REL650 series - Transient Fault

ABB REL650 series
856 pages
Print Icon
To Next Page IconTo Next Page
To Next Page IconTo Next Page
To Previous Page IconTo Previous Page
To Previous Page IconTo Previous Page
Loading...
pulse
AND
AND
AND
AND
CLOSECMD
COUNT3P1
COUNT3P2
COUNT3P3
COUNT3P4
initiate
3PT1
3PT2
3PT3
3PT4
AND
COUNT3P5
COUNTAR
3PT5
RSTCOUNT
counter
counter
counter
counter
counter
counter
AND
AND
1PT1
counter
COUNT1P
ANSI10000258-1-en.vsd
ANSI10000258 V1 EN
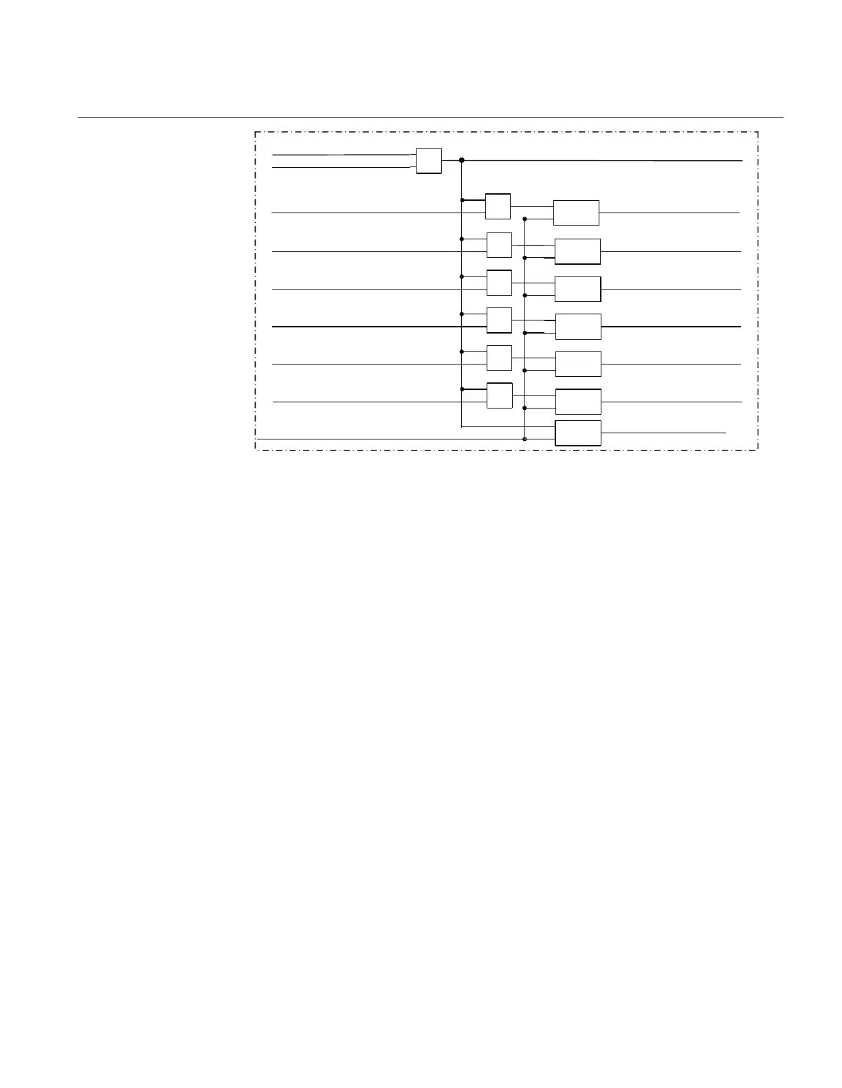
Figure 181: Pulsing of the closing command and driving the operation counters
11.3.6.8 Transient fault
After the reclosing command the reset timer tReset starts running for the set time. If no
tripping occurs within this time, the auto-reclosing will reset.
11.3.6.9 Permanent fault and reclosing unsuccessful signal
If a new trip occurs after the CB closing command, and a new input signal PICKUP or
TRSOTF appears, the output UNSUCCL (unsuccessful closing) is set high. The timers for
the first shot can no longer be started. Depending on the setting for the number of reclosing
shots, further shots may be made or the reclosing sequence will be ended. After the reset
time has elapsed, the auto-reclosing function resets but the CB remains open. The CB
closed data at the 52a input will be missing. Because of this, the reclosing function will not
be ready for a new reclosing cycle.
Normally the signal UNSUCCL appears when a new trip and initiate is received after the
last reclosing shot has been made and the auto-reclosing function is blocked. The signal
resets once the reset time has elapsed. The “unsuccessful“ signal can also be made to
depend on CB position input. The parameter UnsucClByCBChk should then be set to CB
Check, and a timer tUnsucCl should also be set. If the CB does not respond to the closing
command and does not close, but remains open, the output UNSUCCL is set high after
time tUnsucCl.
1MRK 506 335-UUS A Section 11
Control
385
Technical manual

Table of Contents

Related product manuals