EasyManua.ls Logo

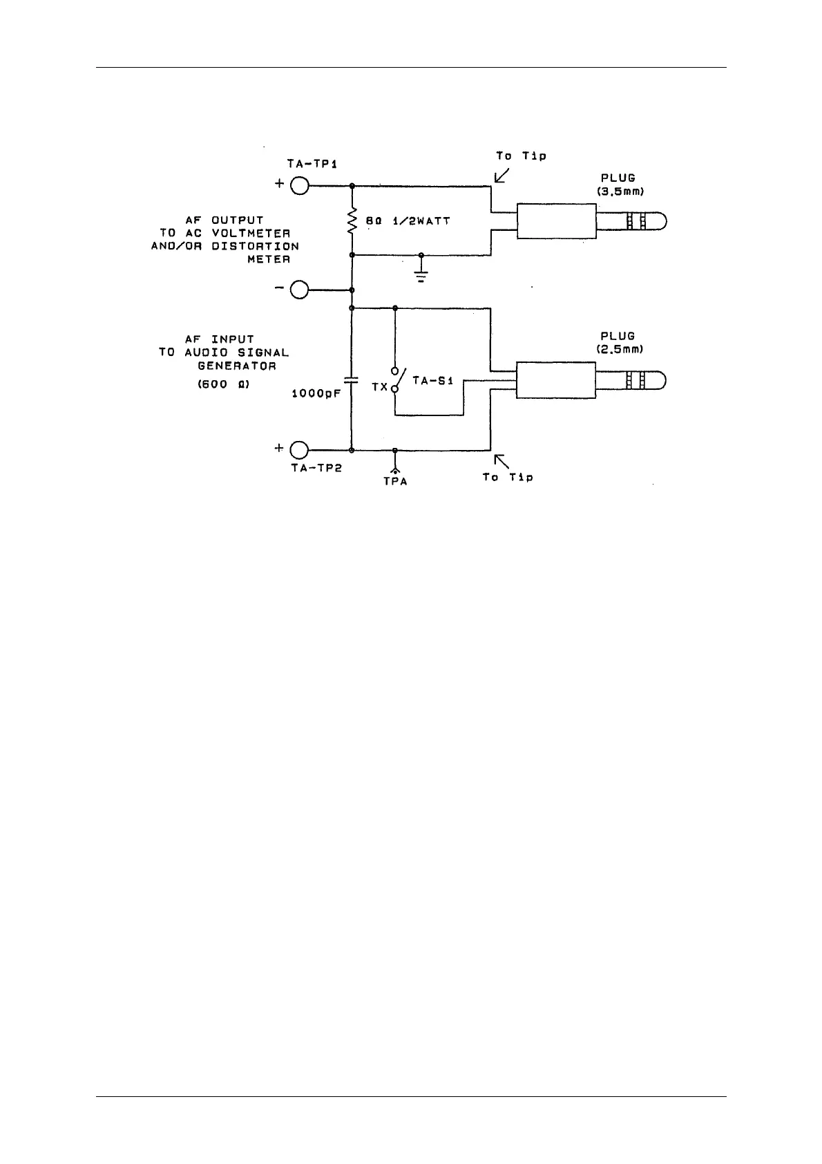
Alan HP106 - 3.6 Figure 2 - Test adaptor

Alan HP106
94 pages
Print Icon
To Next Page IconTo Next Page
To Next Page IconTo Next Page
To Previous Page IconTo Previous Page
To Previous Page IconTo Previous Page
Loading...
HP106 Service Manual
Page 12 of 12
3.6 Figure 2 - Test adaptor

Table of Contents

Related product manuals