EasyManua.ls Logo

Allen-Bradley LOGIX 5000

Allen-Bradley LOGIX 5000
561 pages
To Next Page IconTo Next Page
To Next Page IconTo Next Page
To Previous Page IconTo Previous Page
To Previous Page IconTo Previous Page
Loading...
Process Control Instructions
Chapter 1
Rockwell Automation Publication 1756-RM006K-EN-P - November 2018 91
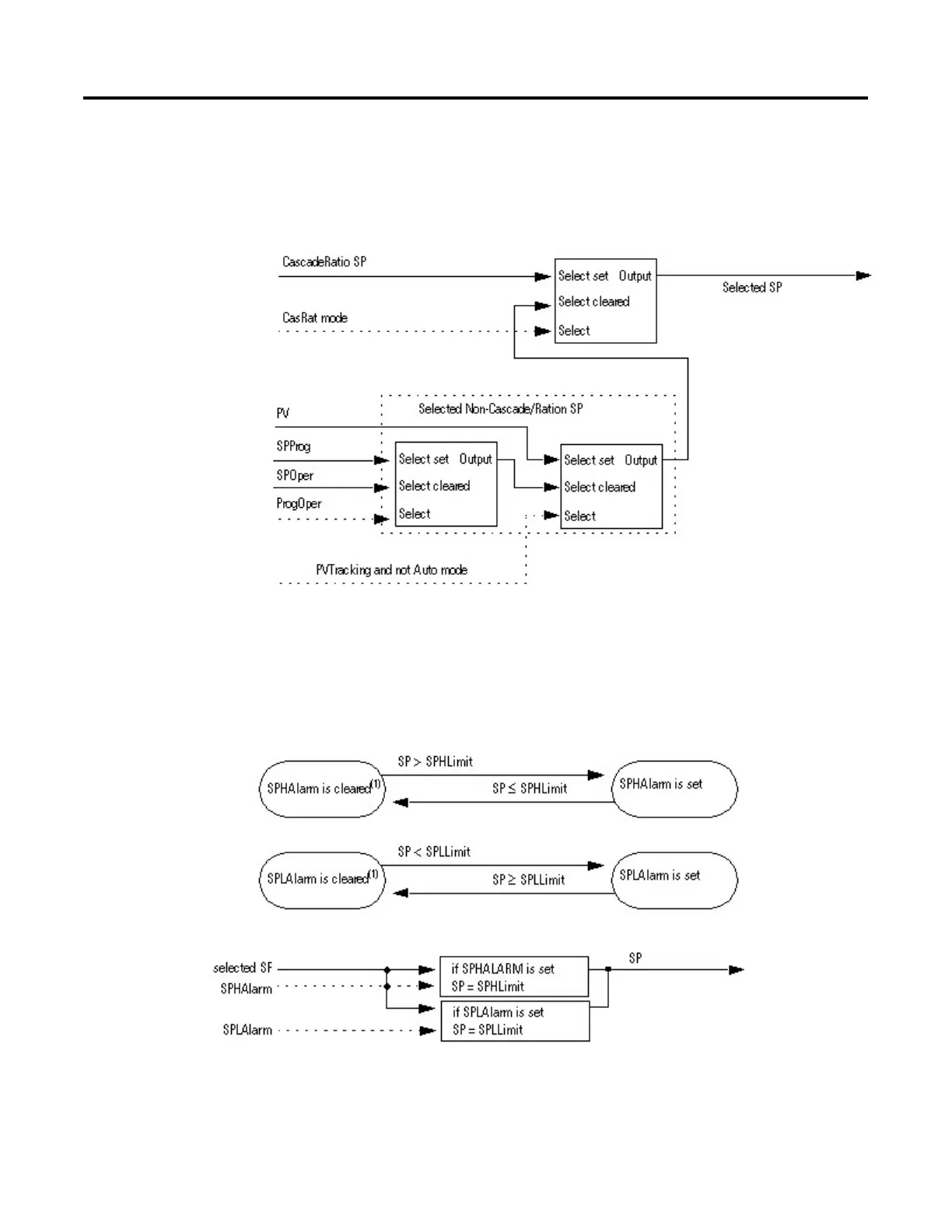
Current SP
The current SP is based on the Cascade/Ratio mode, the PVTracking value, auto
mode, and the ProgOper value.
SP High/Low Limiting
The high-to-low alarming algorithm compares SP to the SPHLimit and SPLLimit
alarm limits. SPHLimit cannot be greater than PVEUMax and SPLLimit cannot
be less than PVEUMin.

Table of Contents

Other manuals for Allen-Bradley LOGIX 5000

Related product manuals