EasyManua.ls Logo

Altronic DE-3000 - Installation in Division 1 Applications

Altronic DE-3000
77 pages
Print Icon
To Previous Page IconTo Previous Page
To Previous Page IconTo Previous Page
Loading...
DE-3000 IOI 7-17
All rights reserved © ALTRONIC, LLC 2017
77
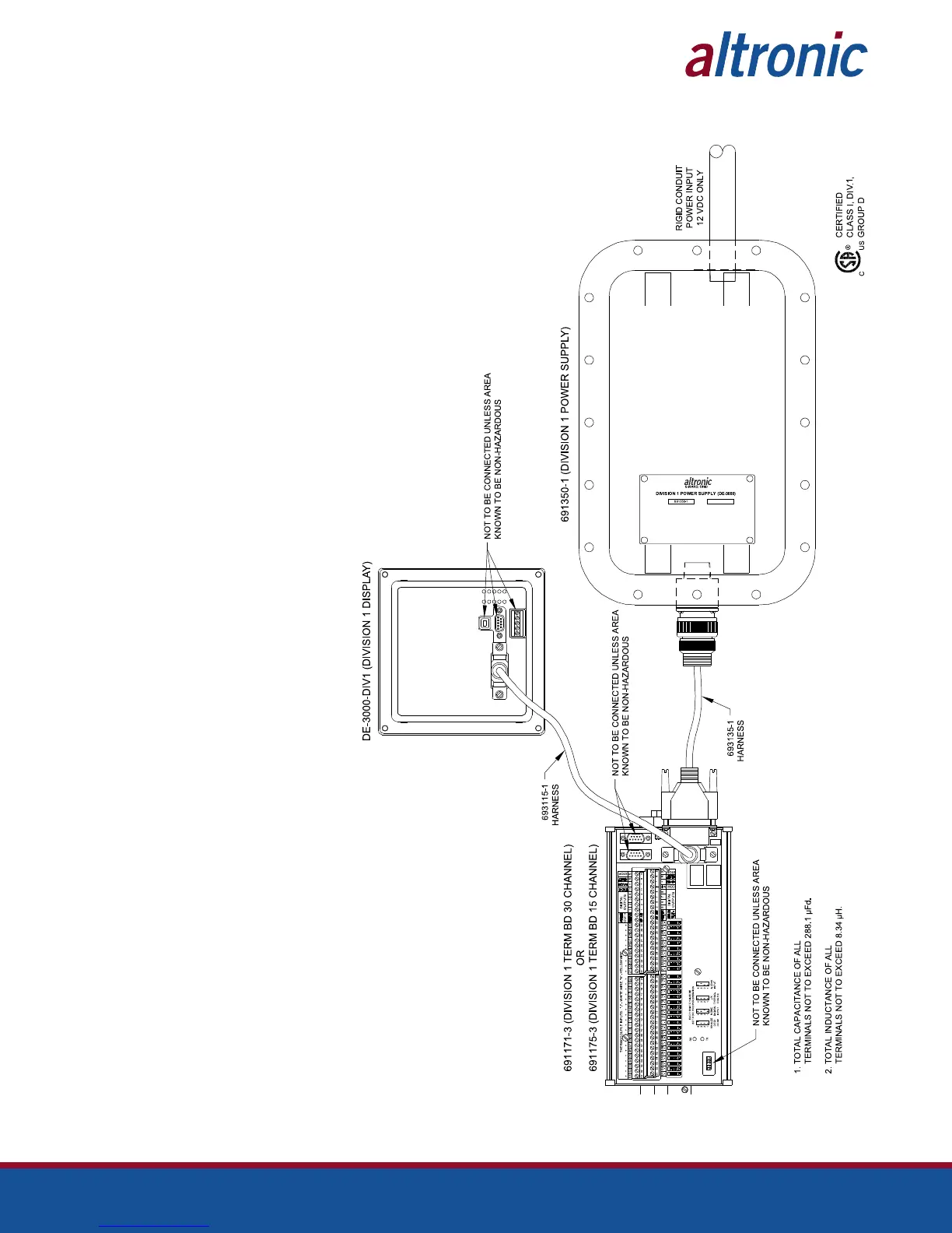
FIG. 14 DRAWING 690 255: INSTALLATION IN DIVISION 1 APPLICATIONS
The DE-3000 system is CSA
certified for CLASS I, DIVISION
2, GROUPS C and D areas when
mounted in a suitable enclosure.
The DE-3000 system may also be
used in a DIVISION 1 hazardous
area if it incorporates only the
devices shown in the drawing at
right, and is installed as shown.
The power connections to the DE-
3000 must be in accordance with
the National Electrical Code and
in Canada, the Canadian Electrical
Code.
In addition, the following
requirements must be met:
The low voltage sensor switch
wires within the panel enclosure
must be kept at least two (2)
inches away from other wiring.
Run the sensor switch wires
leaving the panel in a separate
conduit from all other wiring
and keep them separate
Wiring to the sensors must have
a grade of insulation capable of
withstanding an AC voltage of
500 volts RMS.
Sensor wires must be run in
separate conduits and junction
boxes from high voltage wires
such as ignition, fuel valve, and
other high voltage wiring.

Table of Contents

Related product manuals