EasyManua.ls Logo

Ametek PARSTAT MC - The Blank Module

Ametek PARSTAT MC
62 pages
Print Icon
To Next Page IconTo Next Page
To Next Page IconTo Next Page
To Previous Page IconTo Previous Page
To Previous Page IconTo Previous Page
Loading...
PARSTAT MC Hardware Manual
PARSTAT MC Hardware Manual 24
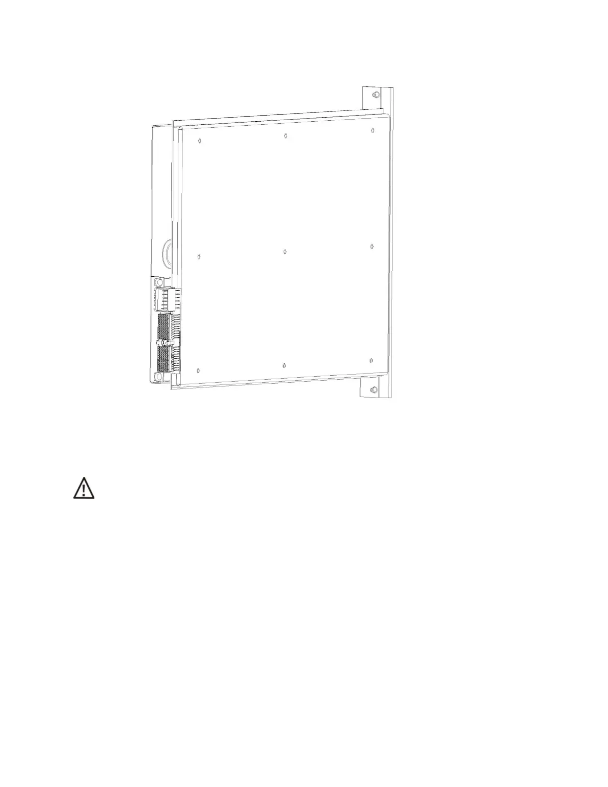
Figure 15. Back of the uninstalled PMC-1000
The back of the potentiostat channel has the locators and connections to the backplane, a signal connector
and a power connector.
CAUTION Do not remove any covers or panels from the potentiostat module.
4.1.4. The Blank Module
A blank module may be installed into any slot in the PMC chassis except the dedicated power supply
module slot. It is important to have either a potentiostat module or a blank module installed in every slot
when the PMC is operating. This ensures optimum air flow and cooling of the chassis.

Table of Contents

Related product manuals