EasyManua.ls Logo

Applied Precision PTE 2300 Series - SINGLE PHASE Measuring Accessories; TWO PHASE Measuring Accessories

Applied Precision PTE 2300  Series
114 pages
Print Icon
To Next Page IconTo Next Page
To Next Page IconTo Next Page
To Previous Page IconTo Previous Page
To Previous Page IconTo Previous Page
Loading...
Portable Test Equipment
User’s Guide
PTE-UGFW56a-EN www.appliedp.com
106
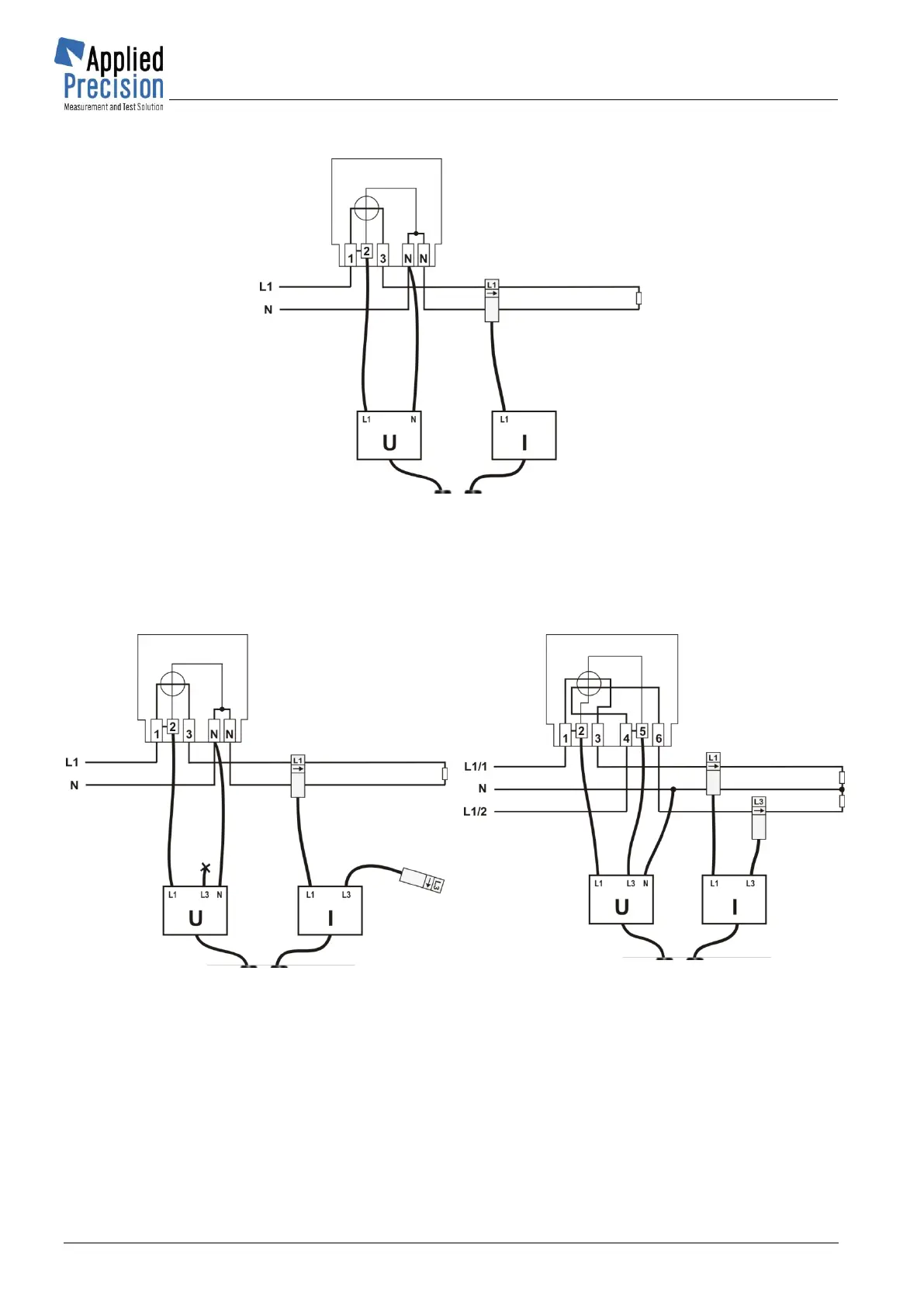
SINGLE PHASE measuring accessories
In A In B
Single-phase 2-wire (1P2W) connection
TWO PHASE measuring accessories
In A In B
Single-phase 2-wire (1P2W) connection
In A In B
Single-phase 3-wire (1P3W) or
two-phase 3-wire (2P3W) connection

Table of Contents