EasyManua.ls Logo

AudioArts Engineering D-70 - Off Tally; Tally B; Stereo Line Analog Inputs; Audio Connections

Default Icon
130 pages
Print Icon
To Next Page IconTo Next Page
To Next Page IconTo Next Page
To Previous Page IconTo Previous Page
To Previous Page IconTo Previous Page
Loading...
page 2 – 6
D-70 / Apr 2000
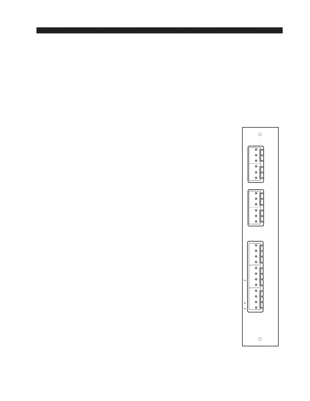
INPUT MODULE
This closure can be used to control an externally powered tally light
that requires a continuous closure to function. Or an external tally light
(i.e., LED) can be powered from the input module by connecting the
external LED to +5V Digital (Pin 9 or Pin 10) and the On Tally port.
In either case, current should not exceed 30 milliamps.
Off Tally
Identical to “On Tally” (preceding), only this tally is active when
the module is OFF. Off Tally A is Pin 3.
Tally B
Provides a remote indication that the module’s B source has been
selected. This control function provides a continuous closure (open
collector) between Pin11 (Tally B) and Digital Ground (Pins 7, 8 or 12)
whenever the B source is selected.
This closure can be used to control an externally powered tally light
that requires a continuous closure to function. An external tally light
(i.e., LED) can be powered from the input module by connecting the
external LED to +5V Digital (Pin 9 or Pin 10) and the B Tally port. In
either case, current should not exceed 30 milliamps.
Stereo Line Analog Inputs
Audio Connections
These include A and B source inputs; level is +4dBu balanced.
Pin 6 – Line A In Lt LO
Pin 5 – Line A In Lt SH
Pin 4 – Line A In Lt HI
Pin 3 – Line A In Rt LO
Pin 2 – Line A In Rt SH
Pin 1 – Line A In Rt HI
Pin 6 – Line B In Lt LO
Pin 5 – Line B In Lt SH
Pin 4 – Line B In Lt HI
Pin 3 – Line B In Rt LO
Pin 2 – Line B In Rt SH
Pin 1 – Line B In Rt HI
LINE IN
IN A
L
S
H
IN B
DIG
TALLY
5V
S/S
OFF
STOP
OFF
START
ON
RDY
ON
RDY
LT
RT
L
S
H
L
S
H
L
S
H
LT
RT
C
B
C
+
+
+
+
+
+
1
2
3
4
5
6
7
8
9
10
11
12
1
2
3
4
5
6
1
2
3
4
5
6
We recommend a series
resistor between the LED
and +5V digital when you
are powering the external
tally from the console; a
value of 220 (1/4W 5%)
is suggested.
SLADC-70
Rear Panel

Table of Contents

Related product manuals