EasyManua.ls Logo

AudioArts Engineering D-70 - Hook-Ups; Upper Connector - Control; Lower Connector - Control

Default Icon
130 pages
Print Icon
To Next Page IconTo Next Page
To Next Page IconTo Next Page
To Previous Page IconTo Previous Page
To Previous Page IconTo Previous Page
Loading...
page 10 – 3
D-70 / Apr 2000
TAPE REMOTE MODULE
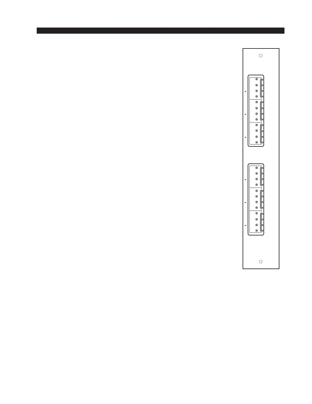
Hook-Ups
Upper Connector — Control
Pin 12 - SW6 (STOP) N.O.
Pin 11 - SW6 (STOP) COM
Pin 10 - SW6 (STOP) LED-
Pin 9 - SW6 (STOP) LED+
Pin 8 - SW5 (REC) N.O.
Pin 7 - SW5 (REC) COM
Pin 6 - SW5 (REC) LED-
Pin 5 - SW5 (REC) LED+
Pin 4 - SW4 (PLAY) N.O.
Pin 3 - SW4 (PLAY) COM
Pin 2 - SW4 (PLAY) LED-
Pin 1 - SW4 (PLAY) LED+
Lower Connector — Control
Pin 12 - SW3 (REW) N.O.
Pin 11 - SW3 (REW) COM
Pin 10 - SW3 (REW) LED-
Pin 9 - SW3 (REW) LED+
Pin 8 - SW2 (FF) N.O.
Pin 7 - SW2 (FF) COM
Pin 6 - SW2 (FF) LED-
Pin 5 - SW2 (FF) LED+
Pin 4 - SW1 (RTZ) N.O.
Pin 3 - SW1 (RTZ) COM
Pin 2 - SW1 (RTZ) LED-
Pin 1 - SW1 (RTZ) LED+
TR
1
2
3
4
5
6
7
8
9
10
11
12
1
2
3
4
5
6
7
8
9
10
11
12
SW6
SW6
L6
L6
SW5
SW5
L5
L5
SW4
SW4
L4
L4
+
+
+
C
N.
O.
C
N.
O.
C
N.
O.
SW3
SW3
L3
L3
SW2
SW2
L2
L2
SW1
SW1
L1
L1
+
+
+
C
N.
O.
C
N.
O.
C
N.
O.
TR-70
Rear Panel

Table of Contents

Related product manuals