EasyManua.ls Logo

Beyerdynamic MCS-D 200 - Page 67

Beyerdynamic MCS-D 200
88 pages
Print Icon
To Next Page IconTo Next Page
To Next Page IconTo Next Page
To Previous Page IconTo Previous Page
To Previous Page IconTo Previous Page
Loading...
MCS-D 200 – Examples
67
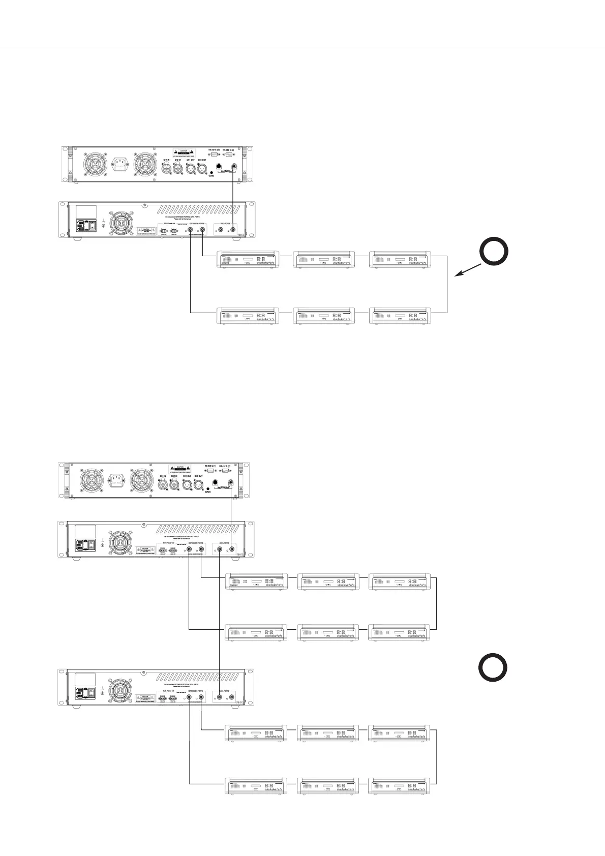
Additional power supply units when the microphone units are set up in a circle
With redundancy i.e. powering the microphone stations on both sides, any cable of the circle can be removed during operation without
interrupting the meeting. All microphone stations are then powered on one side. In this way a microphone station can be replaced during
operation for example.
A condition for redundancy is that all cable lengths had been selected in a way that a single-sided powering could cover the power
requirement.
Setup of the microphone stations in a circle
With redundancy i.e. powering the microphone stations on both sides, any cable of the circle can be removed during operation without
interrupting the meeting. All microphone stations are then powered on one side. In this way a microphone station can be replaced during
operation for example.
A condition for redundancy is that all cable lengths had been selected in a way that a single-sided powering could cover the power
requirement.
OK
MCS-D 200 control unit
CA 4146 power supply unit
MCS-D 31xx MCS-D 31xx MCS-D 31xx
MCS-D 31xxMCS-D 31xx MCS-D 31xx
OK
MCS-D 200 control unit
CA 4146 power supply unit
CA 4146 power supply unit
MCS-D 31xx
MCS-D 31xx MCS-D 31xx
MCS-D 31xxMCS-D 31xx MCS-D 31xx
MCS-D 31xxMCS-D 31xx MCS-D 31xx
MCS-D 31xxMCS-D 31xx MCS-D 31xx

Table of Contents

Related product manuals