EasyManua.ls Logo

Bosch D1260 - Page 90

Bosch D1260
154 pages
Print Icon
To Next Page IconTo Next Page
To Next Page IconTo Next Page
To Previous Page IconTo Previous Page
To Previous Page IconTo Previous Page
Loading...
Part III: Advanced Commands
ADD/CHANGE USER (COMMAND + 5 + 6)
D1260 Owner’s Manual
50410C © 2003 Bosch Security Systems
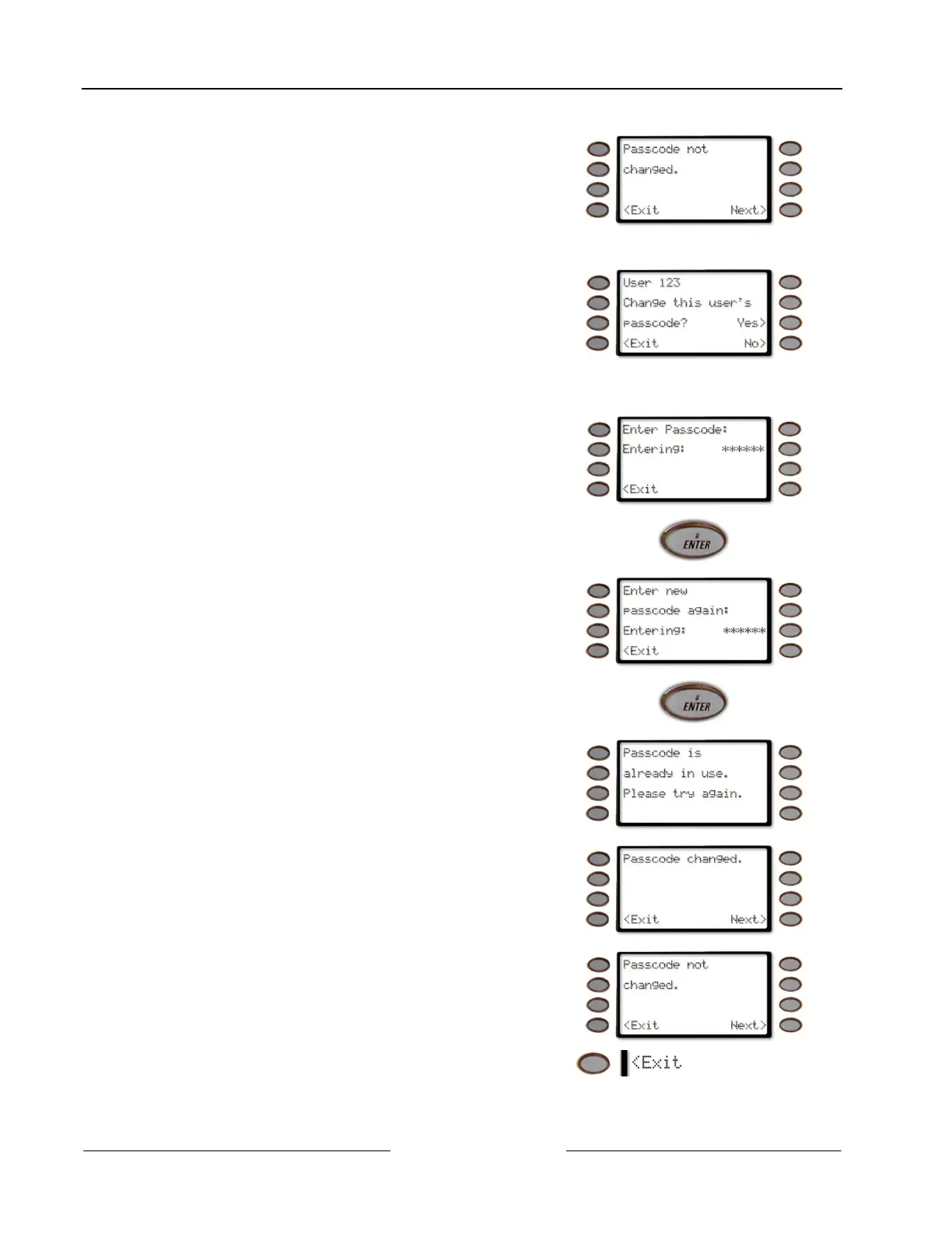
If the passcode does not match, the command center
will emit an error tone and display Passcode not
changed.
Pressing the Next> soft key advances to the
Add/Change Level (if the panel is a D9112 or D7212)
or Add/Change Card (if the panel is a D9412 or
D7412).
4. The display changes to User 123 Change this user’s
passcode?
Press the Yes> soft key to change the passcode.
Press the No> soft key not to change the passcode and
skip ahead to Add/Change Level (if the panel type is a
D9112 or D7212) otherwise if the panel is a D9412 or
D7412, the Add/Change Card appears next.
You will prompted for the user’s passcode.
As soon as a number is pressed, Entering: appears on
the third line next to the asterisks.
It will appear on the display as asterisks (*).
Press the ENTER button.
The display changes to Enter new passcode again:
Enter the new passcode again.
Press the ENTER button.
If an invalid passcode is entered, the command center
will momentarily display Passcode is already in use.
Please try again.
If the passcode matches the previously enter passcode,
the display changes to Passcode changed.
If the passcode does not match, the command center
will emit an error tone and display Passcode not
changed.
5.
Press the <Exit soft key to return to the Add/Change
Menu.

Table of Contents

Other manuals for Bosch D1260

Related product manuals