EasyManua.ls Logo

Bosch GCM12SD - Page 115

Bosch GCM12SD
184 pages
Print Icon
To Next Page IconTo Next Page
To Next Page IconTo Next Page
To Previous Page IconTo Previous Page
To Previous Page IconTo Previous Page
Loading...
115
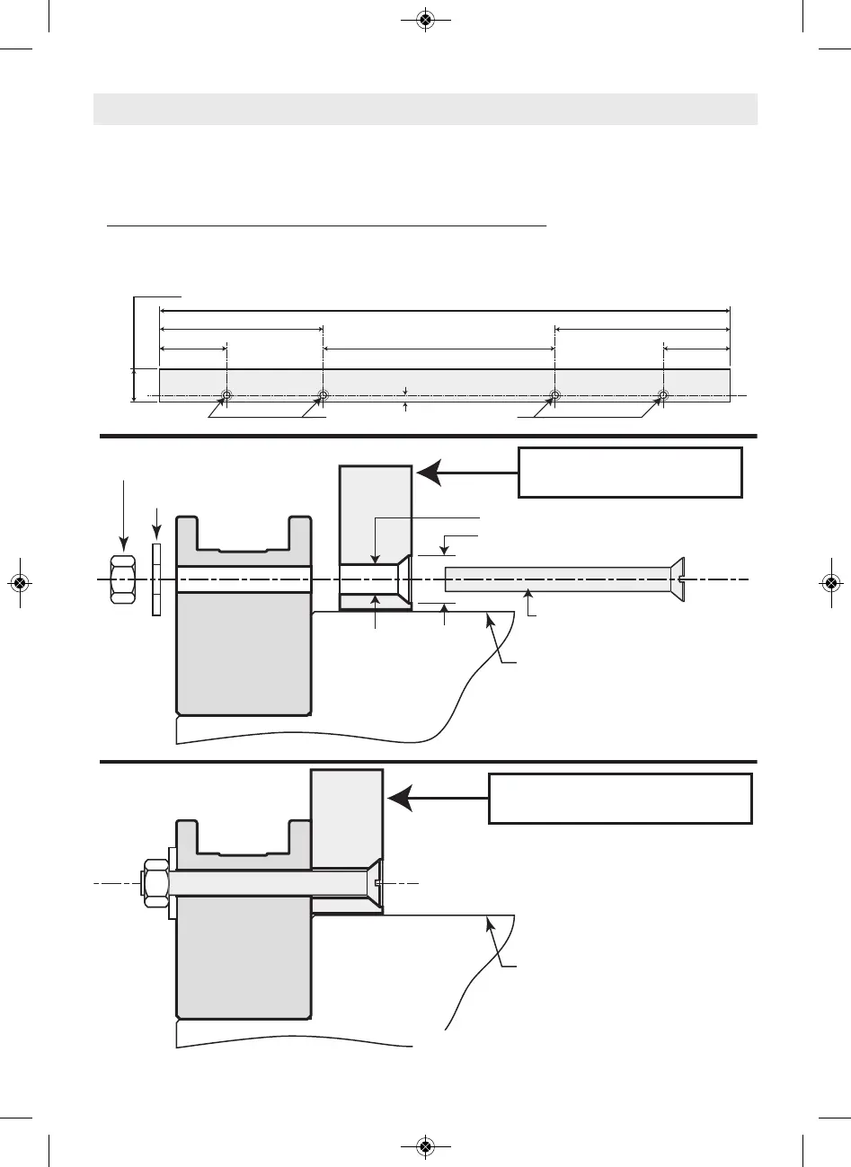
10-19/32 po
3-1/16 po
7-15/32 po
8 po
HAUTEUR TOTALE = 26 1/16 po
3-1/16 po
HAUTEUR TOTALE = 1 1/2 po
Percez 4 trous = diamètre de 5/16 po
5/16 po
Nouveau guide auxiliaire
(monté sur la scie à onglet)
Remarque : le guide fixe est attaché de façon
permanente à la base de la scie (ne pas le retirer)
Guide fixe
Trou traversant de 5/16 po
Fraisage 1/2 po
Vis de mécanique à tête plate de
1/4 po x 2 1/2 po de long
(4 requises)
Rondelle plate (4 requises)
Écrou (4 requis)
Haute de la base
et de la table
Base de la scie
Nouveau guide auxiliaire
Planche : 3/4 po de large x 1 1/2 po de haut
Guide auxiliaire
L’utilisation d’un guide auxiliaire lors de la coupe d’une moulure de couronnement posée à plat sur la table réduit les risques d’éclatement de votre
ouvrage et le mouvement des petites pièces détachées de l’ouvrage. Retirez les guides coulissants de la scie (voir page 94) avant d’attacher le guide auxiliaire.
Construisez un guide auxiliaire en suivant le modèle ci-dessous – Matériau : morceau de bois de 3/4 po x 1 1/2 po.
Ajoutez 4 trous avec les dimensions indiquées sur le modèle – ou – Ajoutez des trous en suivant la procédure ci-après :
1) Coupez un morceau de bois aux dimensions extérieures indiquées et attachez-le temporairement au guide fixe de la scie en utilisant deux brides de fixation de type col de cygne.
2) Utilisez une mèche de perceuse de 1/4 po pour percer d’abord à travers les trous existants à l’arrière du guide fixe, puis à travers le bois.
3) Retirez le morceau de bois, fraisez la partie avant du bois et attachez le guide de la scie de façon permanente avec la quincaillerie indiquée ci-dessous.
Guide fixe
Haute de la base
et de la table
Base de la scie
Opérations de la scie
Guide auxiliaire pour moulure de couronnement
2610051827 GCM12SD 08-18.qxp_GCM12SD 9/19/18 2:53 PM Page 115

Table of Contents

Other manuals for Bosch GCM12SD

Related product manuals