EasyManua.ls Logo

Bosch GCM12SD - Page 175

Bosch GCM12SD
184 pages
Print Icon
To Next Page IconTo Next Page
To Next Page IconTo Next Page
To Previous Page IconTo Previous Page
To Previous Page IconTo Previous Page
Loading...
175
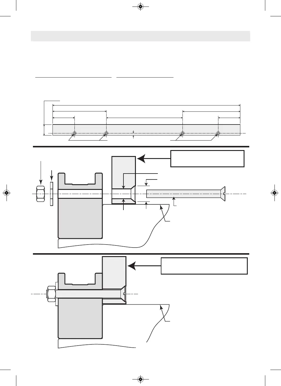
10-19/32"
3
-1/16"
7-15/32"
8
"
LONGITUD TOTAL = 26-1/16 PULG.
3
-1/16"
ALTURA TOTAL = 1-1/2 PULG.
Taladre 4 agujeros = 5/16 de pulg. de diám.
5/16"
Tope-guía auxiliar nuevo
(ensamblado en la sierra para cortar ingletes)
Nota: El tope-guía estacionario está instalado
permanentemente en la base de la sierra (no lo retire)
Tope-guía
estacionario
Agujero pasante de 5/16 de pulgada
Avellanado 1/2 pulg.
Tornillo para metales de cabeza plana
de 1/4 de pulg. x 2-1/2 pulg. de longitud
(se necesitan 4)
Arandela plana (se necesitan 4)
Tuerca (se necesitan 4)
Parte superior
de la base y la mesa
Base de la sierra
Tope-guía auxiliar nuevo
Tabla: 3/4 de pulg. de ancho x 1-1/2 pulg. de alto
Tope-guía auxiliar
La utilización de un tope-guía auxiliar cuando se corta moldura de corona plana sobre la mesa reducirá el astillamiento de la pieza de trabajo y
el movimiento de las piezas de corte pequeñas. Retire los topes-guía deslizantes de la sierra (consulte la página 154) antes de instalar el tope-guía auxiliar.
Construya un tope-guía auxiliar siguiendo el patrón que se indica a continuación. Material: Madera de 3/4 de pulgada x 1-1/2 pulgada.
Añada 4 agujeros tal y como están dimensionados en el patrón -o- Añada agujeros siguiendo los siguientes pasos:
1) Corte la madera con las dimensiones exteriores mostradas y sujétela temporalmente al tope-guía estacionario de la sierra utilizando dos abrazaderas en C.
2) Utilice una broca taladradora de 1/4 de pulgada para taladrar primero a través de los agujeros existentes en la parte trasera del tope-guía estacionario y luego a través de la madera.
3) Retire la madera, avellane la parte delantera de la madera e instálela permanentemente en el tope-guía de la sierra con los herrajes que se muestran más abajo a continuación.
Tope-guía
estacionario
Parte superior
de la base y la mesa
Base de la sierra
Operaciones de la sierra
Tope-guía auxiliar para moldura de corona
2610051827 GCM12SD 08-18.qxp_GCM12SD 9/19/18 2:54 PM Page 175

Table of Contents

Other manuals for Bosch GCM12SD

Related product manuals